铁建重工获得发明专利授权:“一种盘式制动结构”
证券之星消息,根据天眼查APP数据显示铁建重工(688425)新获得一项发明专利授权,专利名为“一种盘式制动结构”,专利申请号为CN202210994542.X,授权日为2025年9月26日。

图片来源于网络,如有侵权,请联系删除
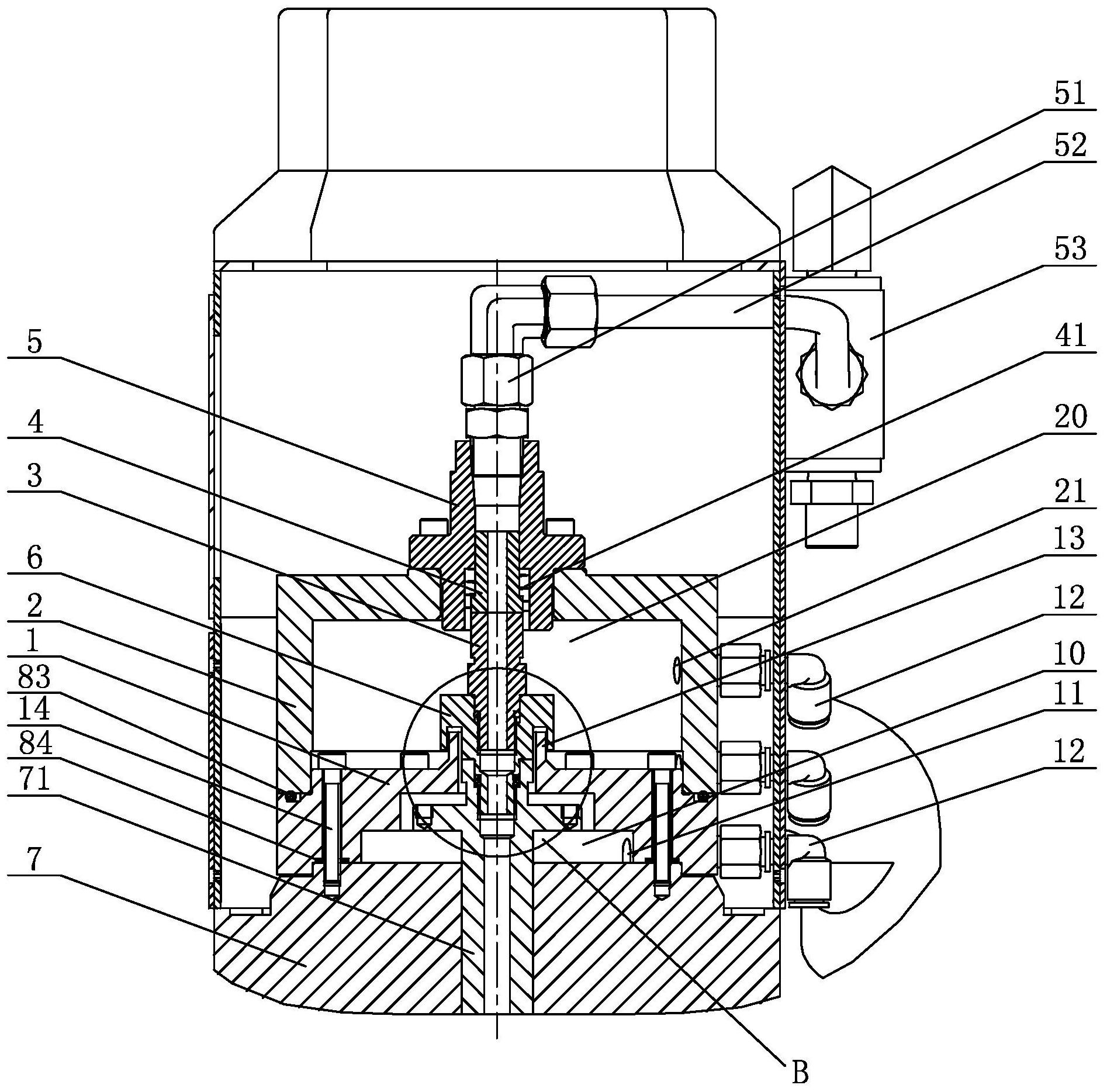
专利摘要:本发明公开一种盘式制动结构,包括制动壳体、制动总成以及冷却总成;制动总成包括制动盘、滑块组件以及驱动组件;冷却总成包括冷却管路、冷却箱体以及泵件;滑块组件的外周上设置有冷却环槽;冷却管路和冷却环槽连通形成闭合回路;本发明通过闭合回路对滑块组件进行冷却,避免了热衰退现象的发生,提高了制动结构的制动稳定性;并且本发明中,当滑块组件与制动盘抵触制动时才能形成用于冷却的闭合回路,即只有当制动时以及制动状态保持的时候,冷却总成才处于工作状态,能够起到随动冷却的效果,避免能耗以及部件寿命降低的问题。

图片来源于网络,如有侵权,请联系删除
今年以来铁建重工新获得专利授权382个,较去年同期减少了10.33%。结合公司2025年中报财务数据,今年上半年公司在研发方面投入了4.11亿元,同比减2.32%。
通过天眼查大数据分析,中国铁建重工集团股份有限公司共对外投资了25家企业,参与招投标项目5050次;财产线索方面有商标信息53条,专利信息4941条,著作权信息423条;此外企业还拥有行政许可134个。
数据来源:天眼查APP
以上内容为证券之星据公开信息整理,由AI算法生成(网信算备310104345710301240019号),不构成投资建议。