长江电力获得实用新型专利授权:“一种夹持结构及叠瓦式太阳能板制备装置”
证券之星消息,根据天眼查APP数据显示长江电力(600900)新获得一项实用新型专利授权,专利名为“一种夹持结构及叠瓦式太阳能板制备装置”,专利申请号为CN202422225418.4,授权日为2025年10月17日。

图片来源于网络,如有侵权,请联系删除
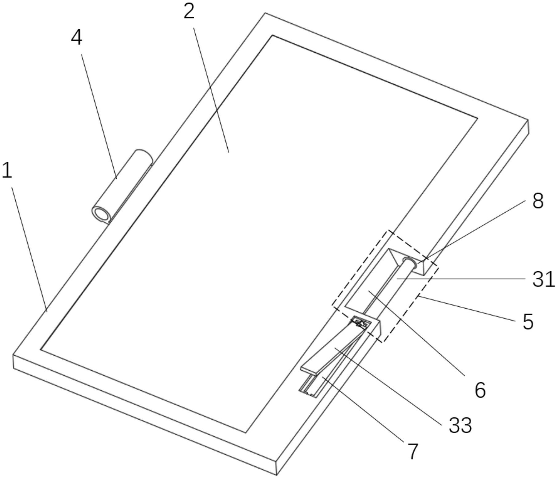
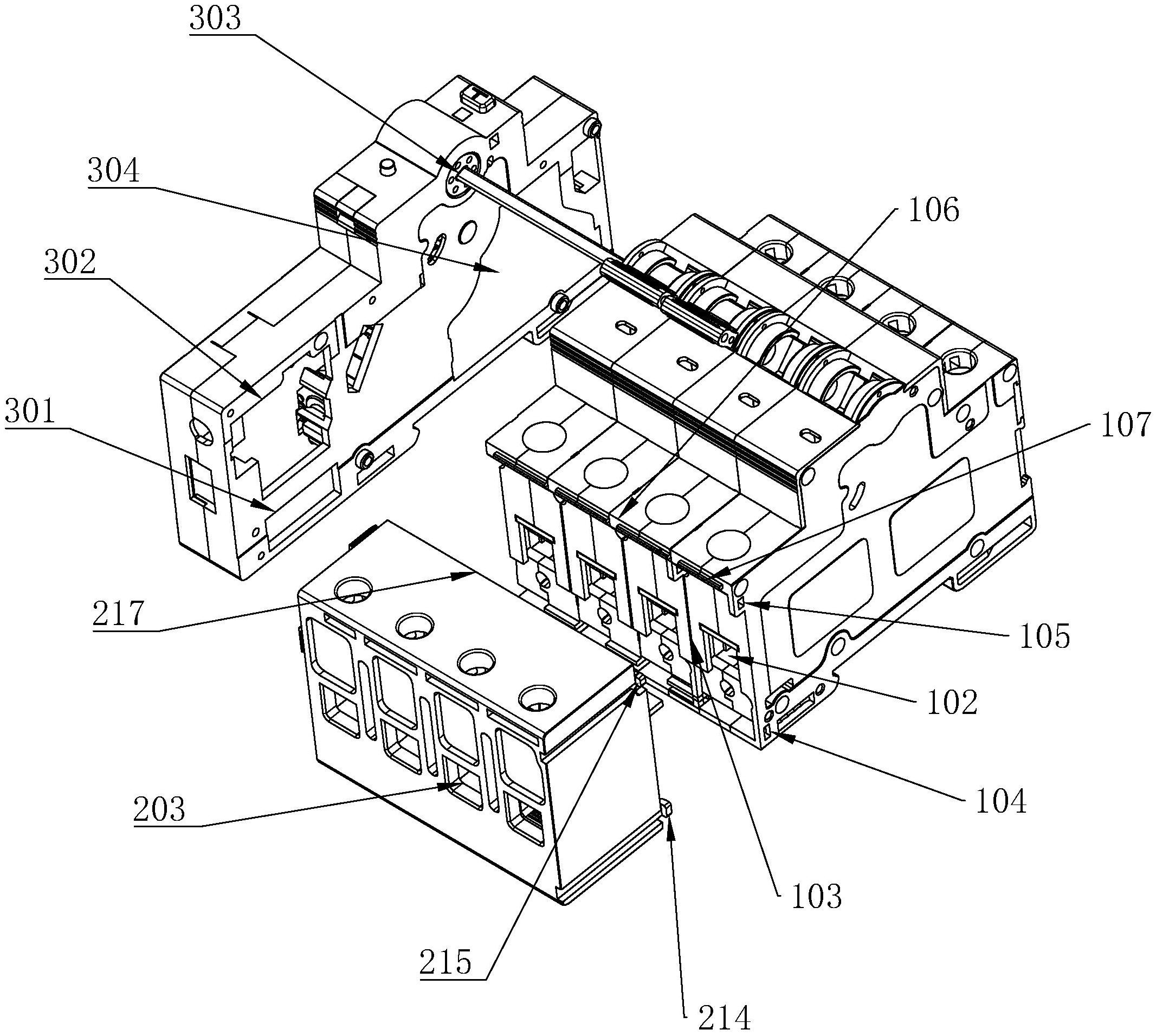
专利摘要:本实用新型涉及太阳能板制备技术领域,特别是一种夹持结构及叠瓦式太阳能板制备装置,包括由箱体、承载台、承托盘和激光切割件组成的主体组件,由夹持件和弹性件组成的夹持组件,以及由触发件和协调件组成的调节组件,本方案通过夹持组件和协调组件配合,使承托有电池片的承托盘在进行切割工作前被夹紧并且在切割完成后被释放,有效避免因电池片承托盘未固定而导致切割出的小的电池片单元大小不一而导致在后续的电池片排列困难且易造成电池片无法匹配而造成电池片浪费的的问题。

图片来源于网络,如有侵权,请联系删除
今年以来长江电力新获得专利授权812个,较去年同期增加了97.57%。结合公司2025年中报财务数据,今年上半年公司在研发方面投入了2.28亿元,同比增0.6%。

图片来源于网络,如有侵权,请联系删除
通过天眼查大数据分析,中国长江电力股份有限公司共对外投资了45家企业,参与招投标项目7266次;财产线索方面有商标信息267条,专利信息6795条,著作权信息1179条;此外企业还拥有行政许可438个。
数据来源:天眼查APP
以上内容为证券之星据公开信息整理,由AI算法生成(网信算备310104345710301240019号),不构成投资建议。