德马科技获得实用新型专利授权:“一种链条输送机”
证券之星消息,根据天眼查APP数据显示德马科技(688360)新获得一项实用新型专利授权,专利名为“一种链条输送机”,专利申请号为CN202422989301.3,授权日为2025年11月4日。

图片来源于网络,如有侵权,请联系删除
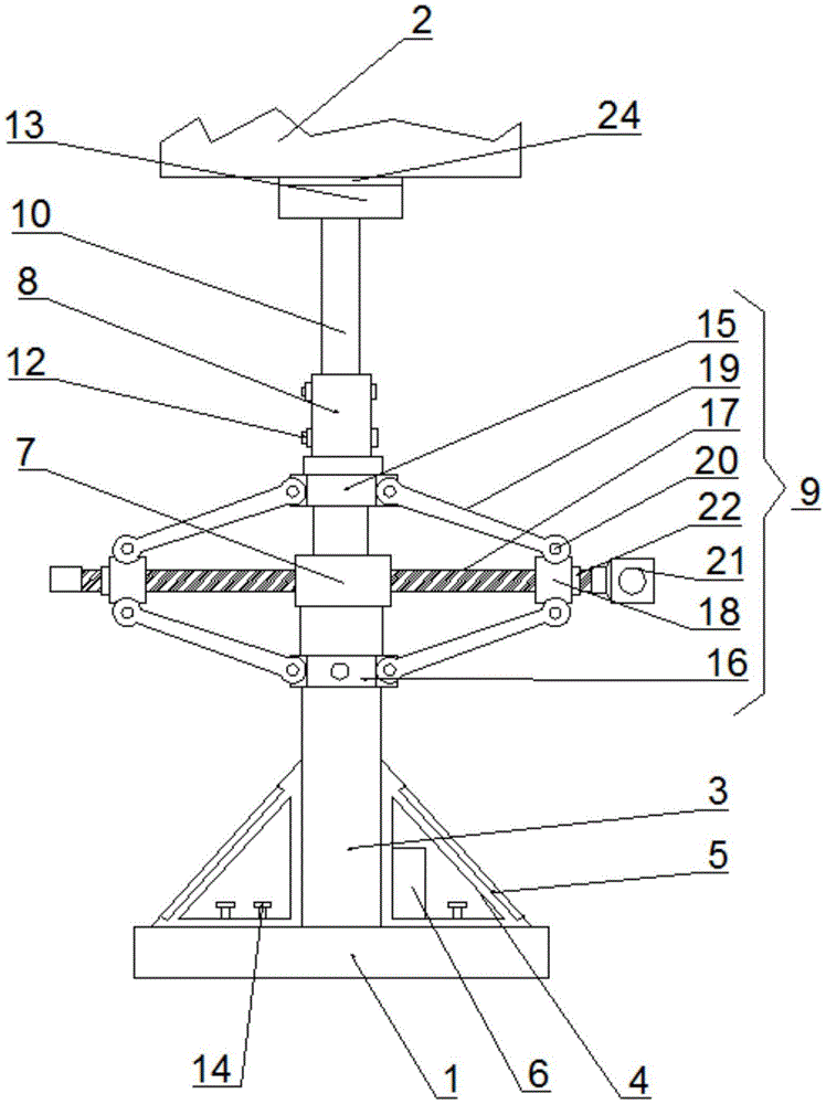
专利摘要:本实用新型公开了一种链条输送机,涉及输送机技术领域,包括设备支架、电机安装座、驱动装置、滚轮、输送链条、输送传动链轮和张紧调节座,其特征在于,所述滚轮分为两组,每组三个滚轮分别安装在设备支架的两端及中部,输送链条套在每组的滚轮外部,驱动装置通过输送传动链轮驱动输送链条转动,张紧调节座用于调节输送链条的张紧度。该链条输送机,通过合理布局设备支架、电机安装座、驱动装置、滚轮、输送链条等部件,实现了链条输送机的结构优化。这种优化不仅降低了设备的复杂性和维护成本,还提高了输送效率和稳定性。

图片来源于网络,如有侵权,请联系删除
今年以来德马科技新获得专利授权62个,较去年同期减少了12.68%。结合公司2025年中报财务数据,今年上半年公司在研发方面投入了5102.39万元,同比增14.65%。

图片来源于网络,如有侵权,请联系删除
通过天眼查大数据分析,德马科技集团股份有限公司共对外投资了16家企业,参与招投标项目48次;财产线索方面有商标信息25条,专利信息718条,著作权信息20条;此外企业还拥有行政许可25个。
数据来源:天眼查APP
以上内容为证券之星据公开信息整理,由AI算法生成(网信算备310104345710301240019号),不构成投资建议。