电连技术获得实用新型专利授权:“FAKRA连接器”
证券之星消息,根据天眼查APP数据显示电连技术(300679)新获得一项实用新型专利授权,专利名为“FAKRA连接器”,专利申请号为CN202520104976.7,授权日为2026年2月13日。

图片来源于网络,如有侵权,请联系删除
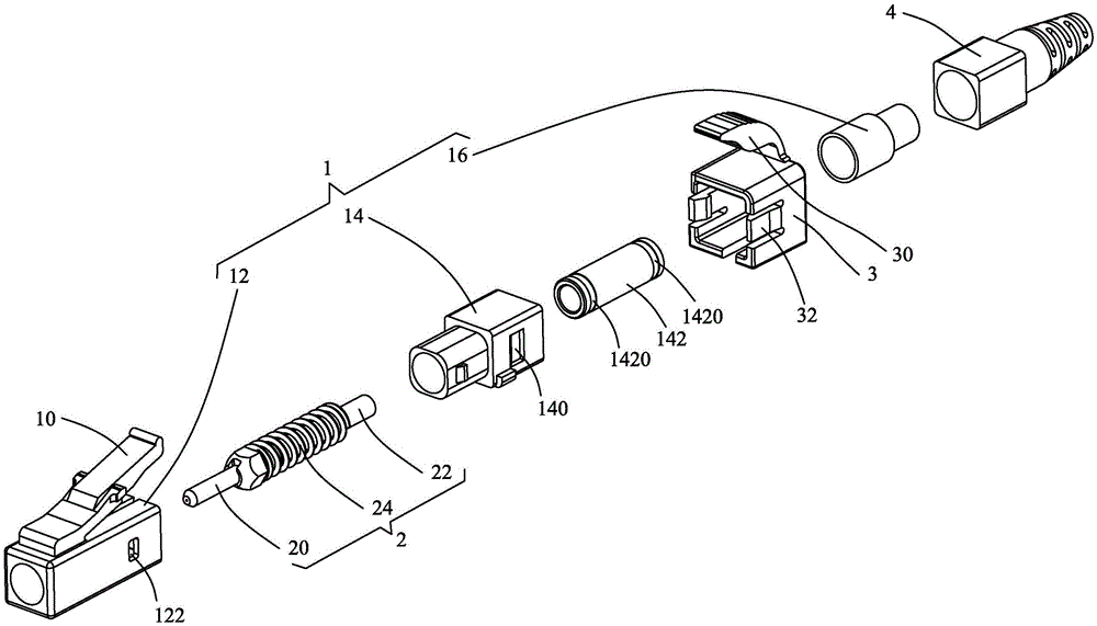
专利摘要:本申请公开了一种FAKRA连接器,包括外导体,设于外导体内的筒状的弹片,设于弹片内的绝缘体和端子,设于外导体后端的绝缘塞和屏蔽盖,设于外导体前端的外壳,以及插入外导体中并与端子及外导体电连接的同轴线;外导体包括沿插接方向延伸的主体部分;主体部分上设有贯穿主体部分前后两端的容纳腔,容纳腔沿前后方向的中间位置设有小径部,小径部的前后两端面分别为第一抵接面和第二抵接面;弹片的前端设有凸部,凸部与第一抵接面抵接;弹片的后端通过铆压扩孔工艺将弹片的后端扩孔,使弹片的后端被铆压抵接在容纳腔后端的内壁以及第二抵接面上,以固定弹片。本申请中用铆压治具将弹片的尾部铆压扩孔固定在外导体上,能避免弹片脱落。

图片来源于网络,如有侵权,请联系删除
今年以来电连技术新获得专利授权22个,较去年同期减少了12%。结合公司2025年中报财务数据,2025上半年公司在研发方面投入了2.09亿元,同比减3.35%。

图片来源于网络,如有侵权,请联系删除
通过天眼查大数据分析,电连技术股份有限公司共对外投资了20家企业,参与招投标项目40次;财产线索方面有商标信息5条,专利信息629条,著作权信息10条;此外企业还拥有行政许可126个。
数据来源:天眼查APP
以上内容为证券之星据公开信息整理,由AI算法生成(网信算备310104345710301240019号),不构成投资建议。