四方科技获得发明专利授权:“一种传动链条的张紧装置”
证券之星消息,根据天眼查APP数据显示四方科技(603339)新获得一项发明专利授权,专利名为“一种传动链条的张紧装置”,专利申请号为CN202010632432.X,授权日为2025年9月2日。

图片来源于网络,如有侵权,请联系删除
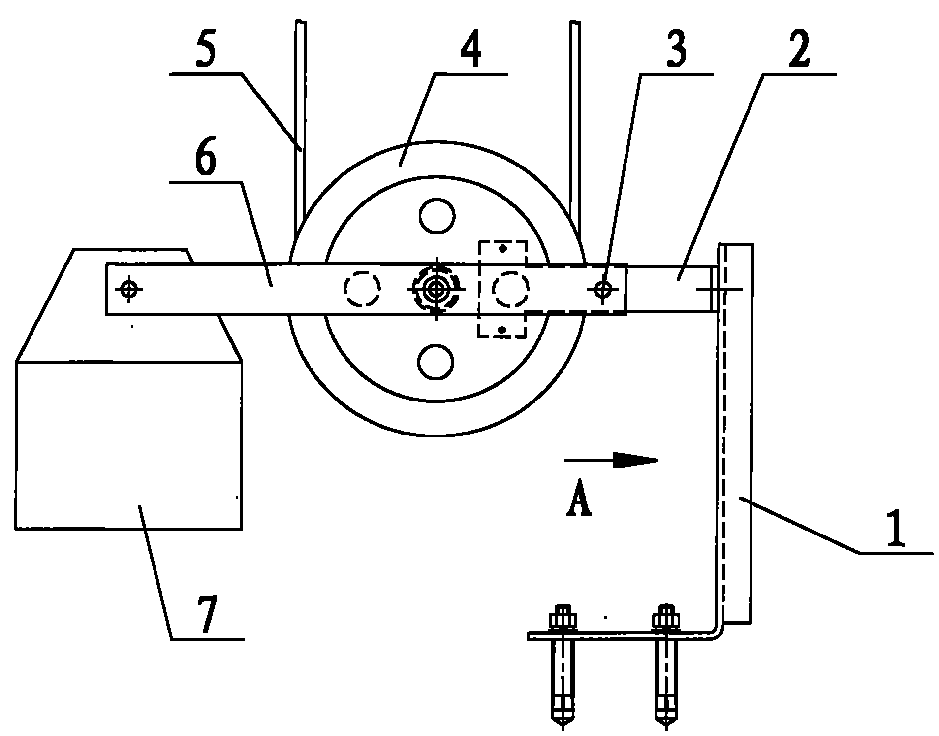
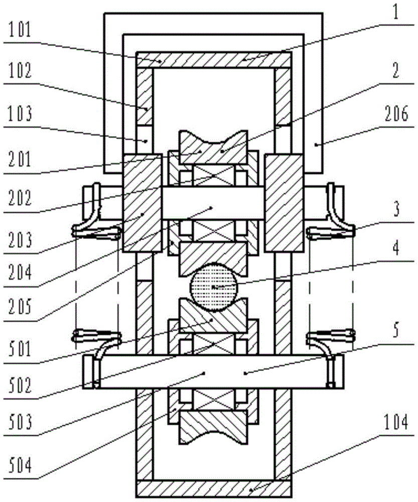
专利摘要:本发明涉及一种传动链条的张紧装置,包括链条轨道以及设置于链条轨道上的链条,在所述的链条轨道旁设置可往复运动的张紧组件,所述的链条轨道包括固定轨道以及活动轨道,在所述的固定轨道与活动轨道之间设置滑块组件,所述的张紧组件固定于活动轨道上,张紧组件驱动活动轨道运动,活动轨道使得链条向外扩张实现张紧。通过张紧组件、推动件以及滑块组件之间的相互配合,使得整体结构拆装和调节均较为方便,减少维修时间,提高维修效率,同时整体结构运动更加顺畅,结构简单,节省材料,便于对零部件的清洗与更换,保持卫生。

图片来源于网络,如有侵权,请联系删除
今年以来四方科技新获得专利授权30个,较去年同期增加了25%。结合公司2025年中报财务数据,今年上半年公司在研发方面投入了4119.28万元,同比减10.97%。

图片来源于网络,如有侵权,请联系删除
通过天眼查大数据分析,四方科技集团股份有限公司共对外投资了6家企业,参与招投标项目69次;财产线索方面有商标信息50条,专利信息408条,著作权信息5条;此外企业还拥有行政许可17个。
数据来源:天眼查APP
以上内容为证券之星据公开信息整理,由AI算法生成(网信算备310104345710301240019号),不构成投资建议。