阳光电源获得实用新型专利授权:“换热装置及具有其的电气机柜”
62188
2025年06月18日
证券之星消息,根据天眼查APP数据显示阳光电源(300274)新获得一项实用新型专利授权,专利名为“换热装置及具有其的电气机柜”,专利申请号为CN202420776456.6,授权日为2025年6月3日。

图片来源于网络,如有侵权,请联系删除
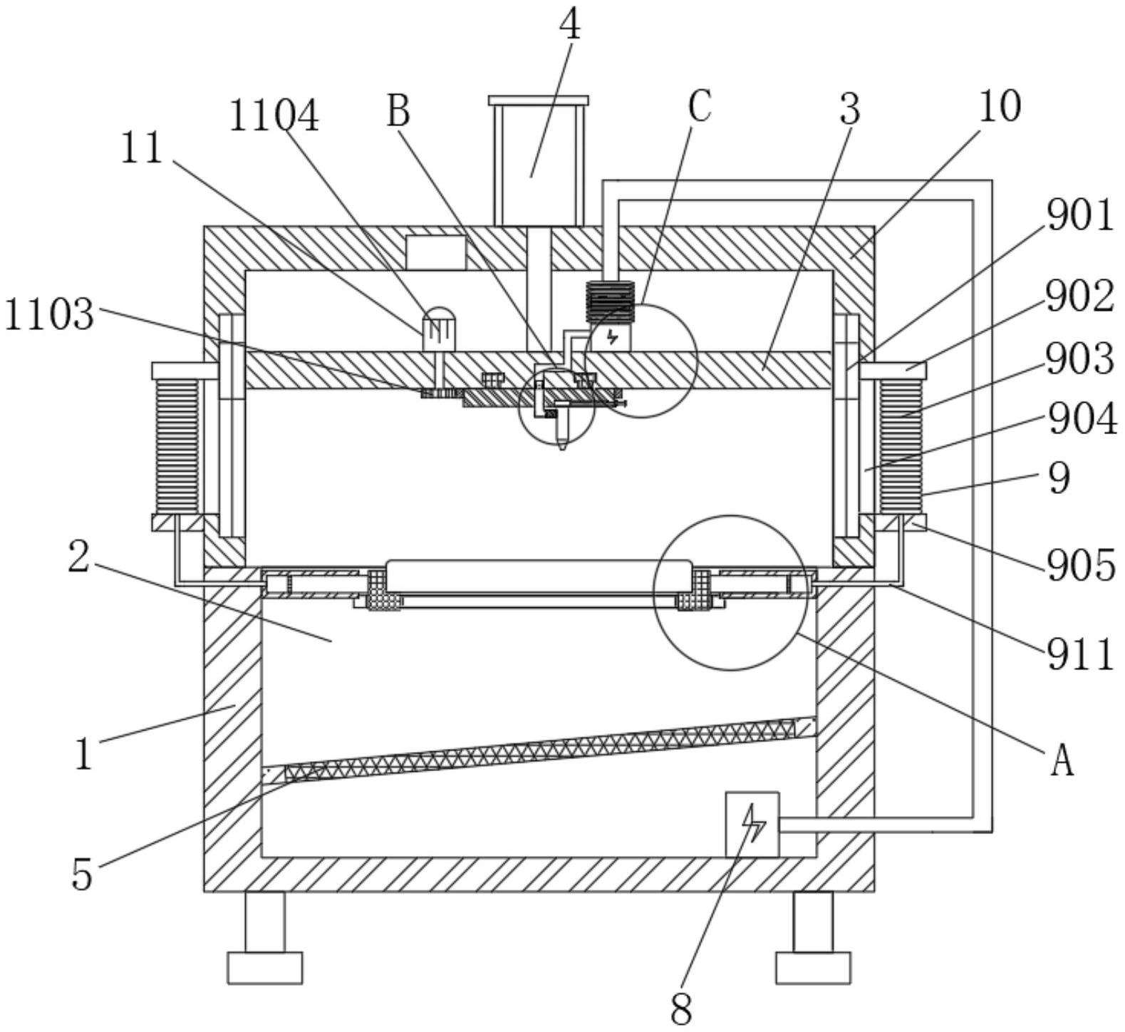
专利摘要:本实用新型提供了一种换热装置及具有其的电气机柜,该换热装置包括:壳体,壳体具有空腔,空腔内具有相对设置的内循环风道和外循环风道,内循环风道具有内循环进风口和内循环出风口,内循环进风口和内循环出风口用于与电气机柜连通,外循环风道具有外循环进风口和外循环出风口,外循环进风口和外循环出风口用于与外界环境连通;换热部具有相互独立的第一换热通道与第二换热通道,第一换热通道与内循环风道连通,第二换热通道与外循环风道连通,换热部通过第一换热通道和第二换热通道对内循环风道与外循环风道进行热交换。通过本实用新型提供的技术方案,能够解决现有技术中的空气换热装置换热效果差的问题。

图片来源于网络,如有侵权,请联系删除
今年以来阳光电源新获得专利授权274个,较去年同期减少了13.02%。结合公司2024年年报财务数据,2024年公司在研发方面投入了31.64亿元,同比增29.26%。

图片来源于网络,如有侵权,请联系删除
数据来源:天眼查APP
以上内容为证券之星据公开信息整理,由AI算法生成(网信算备310104345710301240019号),不构成投资建议。