隆盛科技获得外观设计专利授权:“直线电机废气再循环阀(微型EGR阀)”
70694
2025年10月17日
证券之星消息,根据天眼查APP数据显示隆盛科技(300680)新获得一项外观设计专利授权,专利名为“直线电机废气再循环阀(微型EGR阀)”,专利申请号为CN202530232838.2,授权日为2025年10月17日。

图片来源于网络,如有侵权,请联系删除
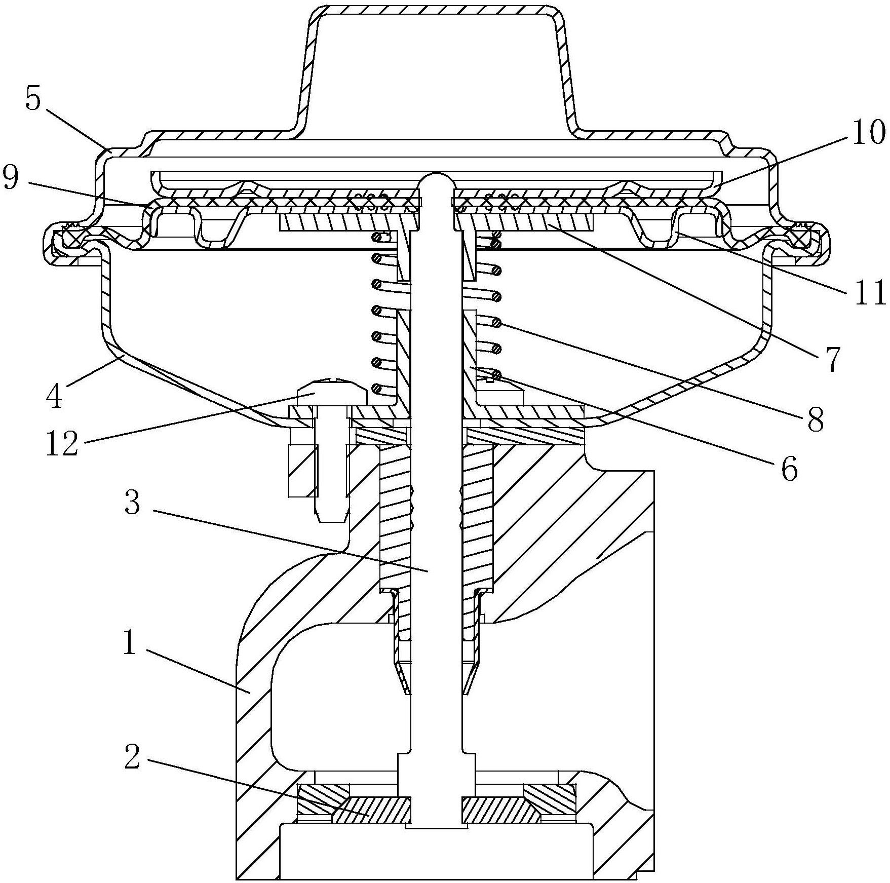
专利摘要:1.本外观设计产品的名称:直线电机废气再循环阀(微型EGR阀)。2.本外观设计产品的用途:用于乘用车控制废气流量。3.本外观设计产品的设计要点:在于形状。4.最能表明设计要点的图片或照片:立体图1。

图片来源于网络,如有侵权,请联系删除
今年以来隆盛科技新获得专利授权28个,较去年同期减少了12.5%。结合公司2025年中报财务数据,今年上半年公司在研发方面投入了4408.5万元,同比增12.21%。

图片来源于网络,如有侵权,请联系删除
通过天眼查大数据分析,无锡隆盛科技股份有限公司共对外投资了15家企业,参与招投标项目10次;财产线索方面有商标信息4条,专利信息657条,著作权信息12条;此外企业还拥有行政许可27个。
数据来源:天眼查APP
以上内容为证券之星据公开信息整理,由AI算法生成(网信算备310104345710301240019号),不构成投资建议。