赣能股份获得实用新型专利授权:“一种具有抑尘结构的锅炉排灰漏斗”
57600
2025年11月19日
证券之星消息,根据天眼查APP数据显示赣能股份(000899)新获得一项实用新型专利授权,专利名为“一种具有抑尘结构的锅炉排灰漏斗”,专利申请号为CN202422842253.5,授权日为2025年11月4日。

图片来源于网络,如有侵权,请联系删除
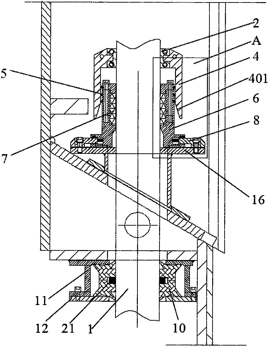
专利摘要:本实用新型公开了一种具有抑尘结构的锅炉排灰漏斗,涉及火电设备相关的技术领域,包括漏斗主体、电缸和垫支架,所述漏斗主体的外侧贯穿开设有排料通孔,所述电缸安装在漏斗主体的外侧,所述漏斗主体的外侧设置有阻尘机构,所述阻尘机构对漏斗主体的下方及卸料小车进行罩取,避免在卸料的过程中灰尘四溢,造成灰尘的污染情况发生,所述垫支架的外侧设置有抑尘机构,所述抑尘机构通过对液体进行雾化,从而形成大量的微米级水雾颗粒漂浮在空气中,可与粉尘不断碰撞、凝结、沉降。

图片来源于网络,如有侵权,请联系删除
今年以来赣能股份新获得专利授权15个,较去年同期减少了50%。结合公司2025年中报财务数据,今年上半年公司在研发方面投入了4827.48万元,同比增32.48%。
通过天眼查大数据分析,江西赣能股份有限公司共对外投资了25家企业,参与招投标项目5606次;财产线索方面有专利信息136条,著作权信息13条;此外企业还拥有行政许可15个。
数据来源:天眼查APP
以上内容为证券之星据公开信息整理,由AI算法生成(网信算备310104345710301240019号),不构成投资建议。