先导智能获得实用新型专利授权:“折弯机构及折弯装置”
证券之星消息,根据天眼查APP数据显示先导智能(300450)新获得一项实用新型专利授权,专利名为“折弯机构及折弯装置”,专利申请号为CN202423022205.8,授权日为2025年11月7日。

图片来源于网络,如有侵权,请联系删除
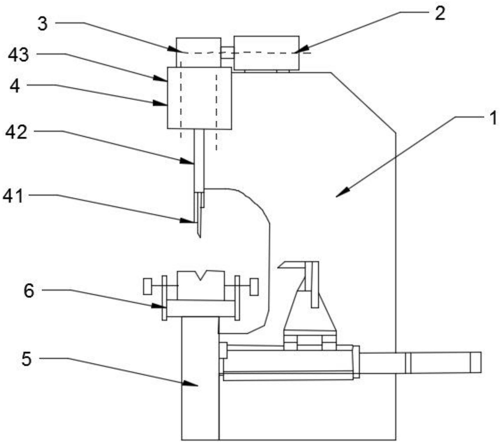
专利摘要:本实用新型公开了一种折弯机构及折弯装置。该折弯机构包括第一基座、第一折弯组件和第二折弯组件,第一折弯组件包括第一连接件和第一折弯件,所述第一连接件可移动连接于所述第一基座,所述第一折弯件弹性连接于所述第一连接件,第二折弯组件包括第二折弯件,所述第二折弯件设置于所述第一基座,且所述第二折弯件与所述第一折弯件相对设置;其中,所述第一折弯件和所述第二折弯件之间适用于放置待折弯工件,所述第一折弯件和所述第二折弯件能够相互靠近,以折弯所述待折弯工件,第一折弯件弹性连接于第一连接件,第一折弯件与待折弯工件接触时,从而能够对第一折弯件起到缓冲作用,以避免压坏待折弯工件。
今年以来先导智能新获得专利授权414个,较去年同期增加了35.29%。结合公司2025年中报财务数据,今年上半年公司在研发方面投入了8.27亿元,同比减0.41%。
通过天眼查大数据分析,无锡先导智能装备股份有限公司共对外投资了10家企业,参与招投标项目391次;财产线索方面有商标信息334条,专利信息3112条,著作权信息185条;此外企业还拥有行政许可269个。
数据来源:天眼查APP
以上内容为证券之星据公开信息整理,由AI算法生成(网信算备310104345710301240019号),不构成投资建议。