中国石油获得发明专利授权:“一种医用内置过滤器”
55666
2026年02月07日
证券之星消息,根据天眼查APP数据显示中国石油(601857)新获得一项发明专利授权,专利名为“一种医用内置过滤器”,专利申请号为CN202310829932.6,授权日为2026年2月6日。

图片来源于网络,如有侵权,请联系删除
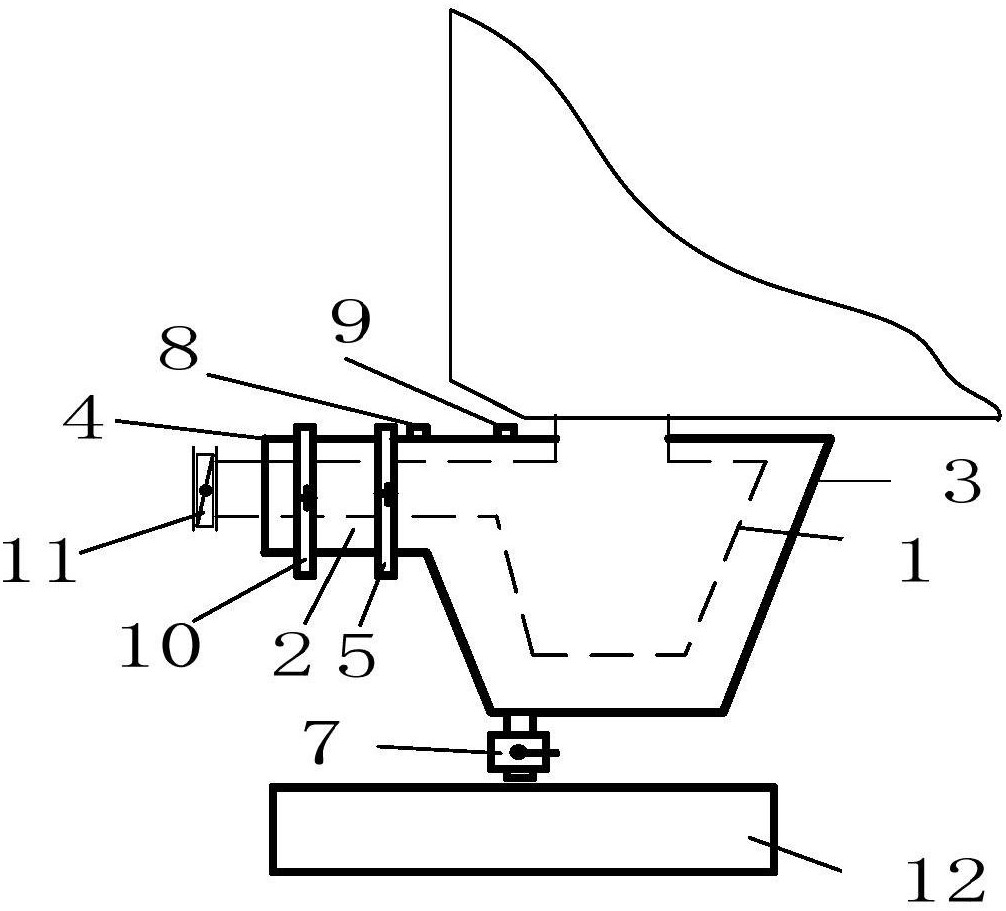
专利摘要:本发明公开了一种医用内置过滤器,包括依次通过弹性密封连接的上连接管、外壳体和内壳体,且可拆卸;所述内壳体上设有单向过滤装置;所述内壳体与所述外壳体之间形成的空腔内设有过滤膜。该医用内置过滤器通过在内壳体上设有单向过滤装置;并在所述内壳体与所述外壳体之间形成的空腔内设置过滤膜,形成两层过滤的结构,在防止液体倒流的同时,能够将药液分两次进行有效过滤,能够将医用注射器与药液长期接触产生的落屑和不溶性微粒进行过滤,并将过滤的杂质阻挡防止其再次随滤液进入人体,提高了用药的安全性和质量可控性。
今年以来中国石油新获得专利授权283个,较去年同期增加了82.58%。结合公司2025年中报财务数据,2025上半年公司在研发方面投入了98.99亿元,同比增2.51%。
通过天眼查大数据分析,中国石油天然气股份有限公司共对外投资了1298家企业,参与招投标项目443次;财产线索方面有商标信息105条,专利信息48442条;此外企业还拥有行政许可168个。
数据来源:天眼查APP
以上内容为证券之星据公开信息整理,由AI算法生成(网信算备310104345710301240019号),不构成投资建议。