西安奕材获得发明专利授权:“一种机械手、机械手自动校准装置及方法”
证券之星消息,根据天眼查APP数据显示西安奕材(688783)新获得一项发明专利授权,专利名为“一种机械手、机械手自动校准装置及方法”,专利申请号为CN202310478233.1,授权日为2026年2月17日。

图片来源于网络,如有侵权,请联系删除
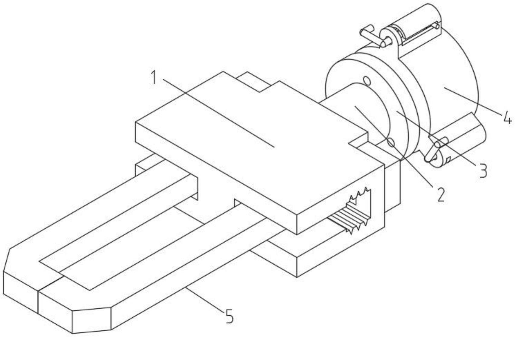
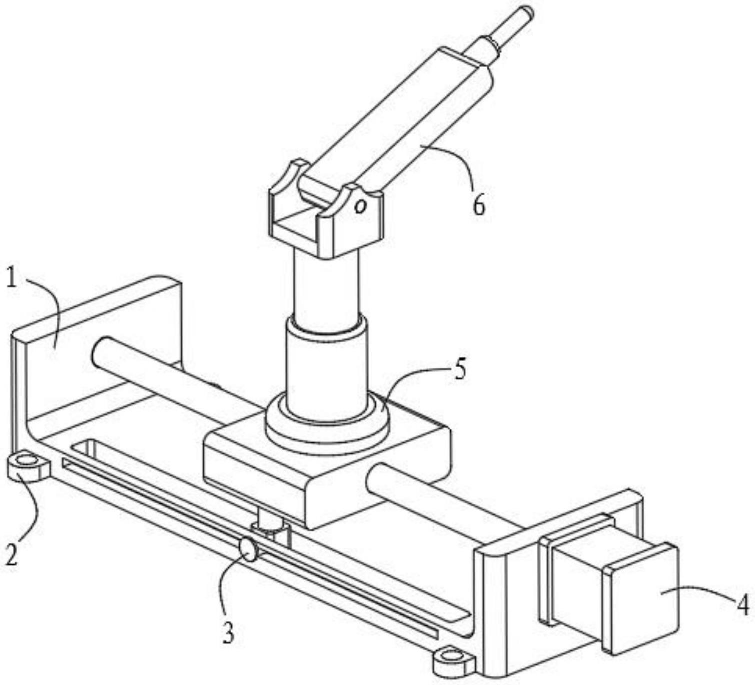
专利摘要:本公开提供一种机械手、机械手自动校准装置及方法,该机械手包括:用于承载晶圆的承载主体,所述承载主体包括基部、及连接至所述基部上间隔设置的第一臂部和第二臂部;移动所述承载主体的移动组件;及感应器,所述感应器包括设置于所述第一臂部的发射端、及设置于所述第二臂部的接收端,所述发射端用于向所述接收端发射沿第一水平方向传输的光束,所述接收端用于根据光束被所述晶圆遮挡情况产生相应感应信号。本公开提供的机械手、机械手自动校准装置及方法,能够在生产过程中实现对机械手自动校准,同时兼容不同晶圆盒差异、或者机械手示教位置偏差等问题,降低机械手撞断、晶圆损伤等风险。

图片来源于网络,如有侵权,请联系删除
今年以来西安奕材新获得专利授权11个。结合公司2025年中报财务数据,2025上半年公司在研发方面投入了1.28亿元,同比减nan%。
通过天眼查大数据分析,西安奕斯伟材料科技股份有限公司共对外投资了7家企业,参与招投标项目7次;财产线索方面有商标信息5条,专利信息1518条;此外企业还拥有行政许可24个。
数据来源:天眼查APP
以上内容为证券之星据公开信息整理,由AI算法生成(网信算备310104345710301240019号),不构成投资建议。