歌尔股份公布国际专利申请:“发声装置的壳体、发声装置以及电子设备”
65392
2026年03月07日
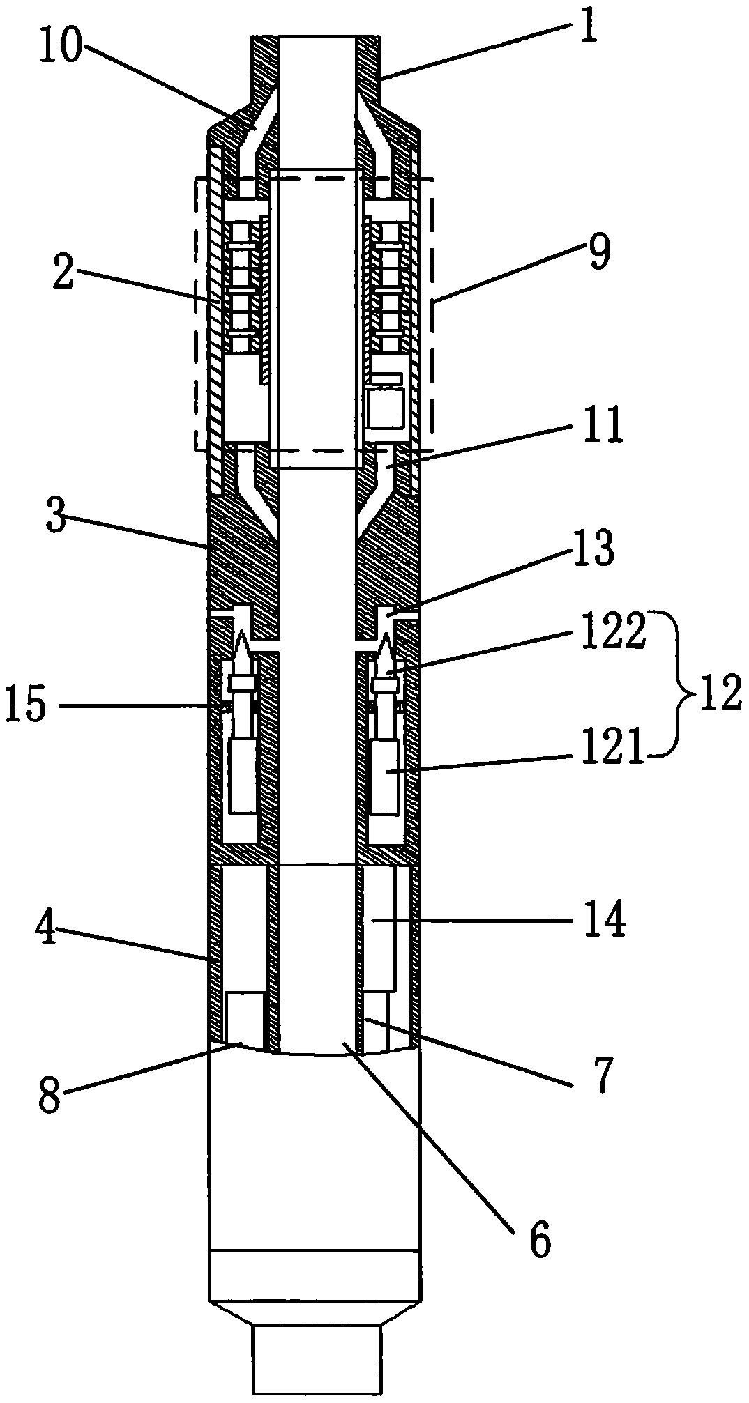
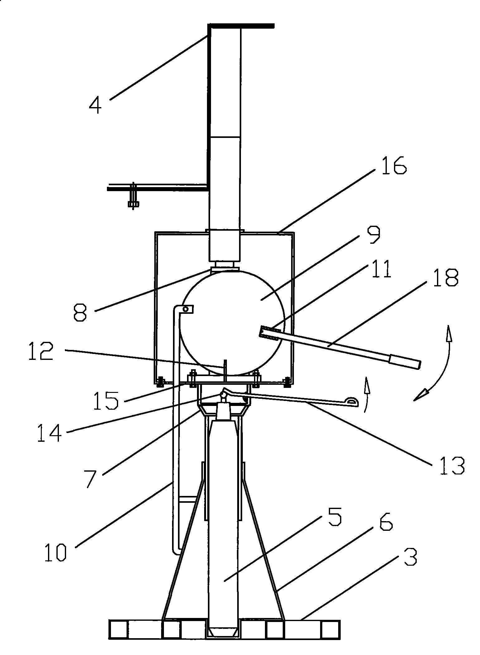
证券之星消息,根据企查查数据显示歌尔股份(002241)公布了一项国际专利申请,专利名为“发声装置的壳体、发声装置以及电子设备”,专利申请号为PCT/CN2025/083175,国际公布日为2026年3月5日。

图片来源于网络,如有侵权,请联系删除
专利详情如下:

图片来源于网络,如有侵权,请联系删除
图片来源:世界知识产权组织(WIPO)

图片来源于网络,如有侵权,请联系删除
今年以来歌尔股份已公布的国际专利申请27个,较去年同期增加了58.82%。结合公司2025年中报财务数据,2025上半年公司在研发方面投入了23.54亿元,同比增15.81%。
数据来源:企查查
以上内容为证券之星据公开信息整理,由AI算法生成(网信算备310104345710301240019号),不构成投资建议。