国际复材获得实用新型专利授权:“一种光伏边框的角码及光伏组件”
67141
2026年03月10日
证券之星消息,根据天眼查APP数据显示国际复材(301526)新获得一项实用新型专利授权,专利名为“一种光伏边框的角码及光伏组件”,专利申请号为CN202520425859.0,授权日为2026年3月10日。

图片来源于网络,如有侵权,请联系删除
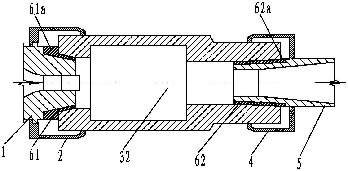
专利摘要:本实用新型公开了一种光伏边框的角码及光伏组件,该光伏边框的角码包括:角码基体,其上设置有相互垂直的第一凸出部与第二凸出部;边框,设有两个,并分别套设于第一凸出部与第二凸出部;嵌套,设于边框与第一凸出部之间,嵌套与第一凸出部可拆卸连接。本申请提供的一种光伏边框的角码及光伏组件,通过嵌套内嵌的方式,增强了复材边框在装配处的层间剪切强度,解决了全纱边框层间剪切效果较差的问题。

图片来源于网络,如有侵权,请联系删除
今年以来国际复材新获得专利授权18个,较去年同期增加了350%。结合公司2025年中报财务数据,2025上半年公司在研发方面投入了1.45亿元,同比减26.79%。
通过天眼查大数据分析,重庆国际复合材料股份有限公司共对外投资了14家企业,参与招投标项目4800次;财产线索方面有商标信息47条,专利信息503条,著作权信息8条;此外企业还拥有行政许可186个。
数据来源:天眼查APP
以上内容为证券之星据公开信息整理,由AI算法生成(网信算备310104345710301240019号),不构成投资建议。