泰尔股份获得发明专利授权:“一种周向相位的线性调整装置”
证券之星消息,根据天眼查APP数据显示泰尔股份(002347)新获得一项发明专利授权,专利名为“一种周向相位的线性调整装置”,专利申请号为CN202210735188.9,授权日为2025年10月21日。

图片来源于网络,如有侵权,请联系删除
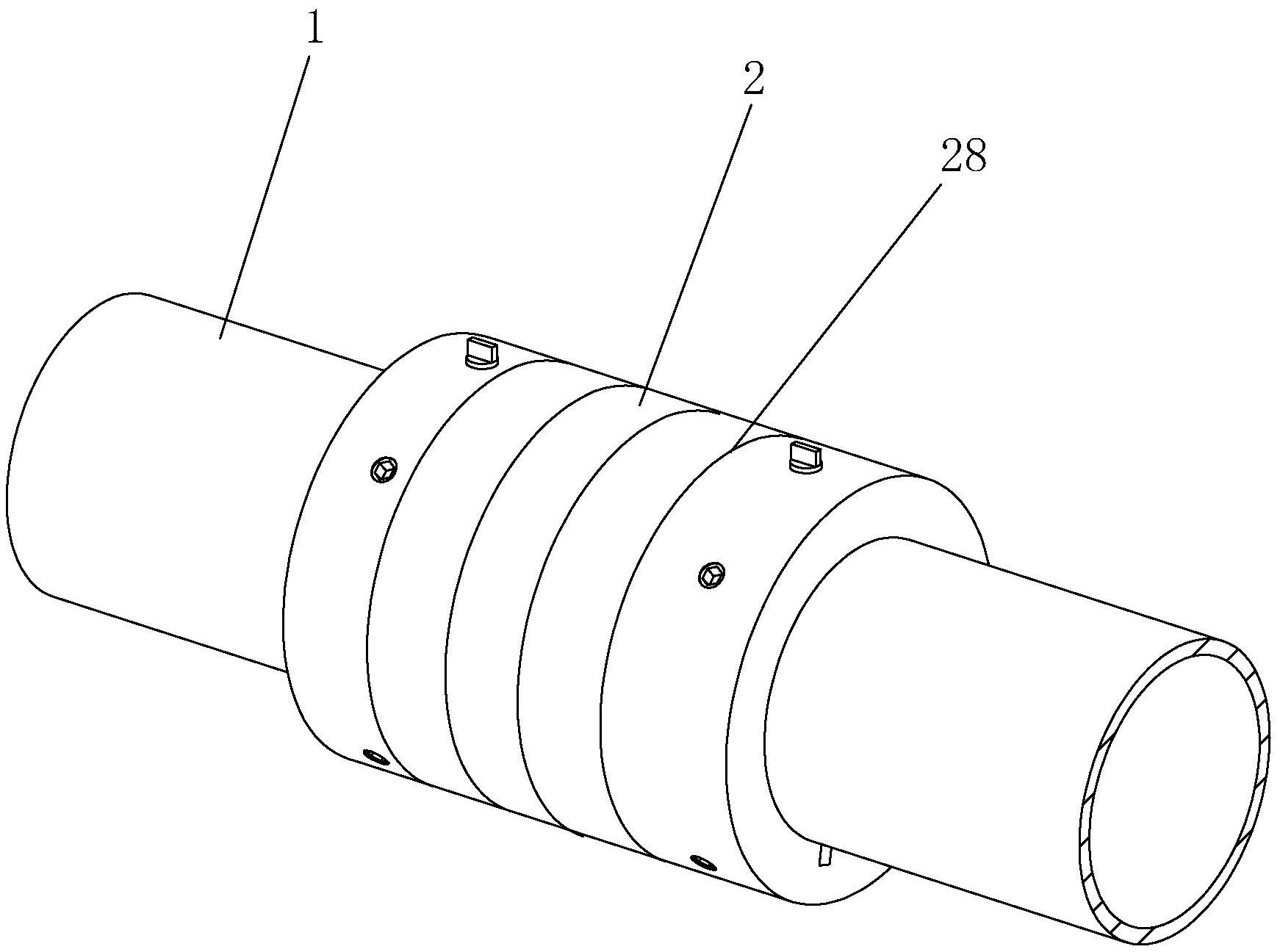
专利摘要:本发明公开了一种周向相位的线性调整装置,它包括芯轴、左右两个半联轴器、上下两个相位调整组件;左右两个半联轴器套装在芯轴上且与芯轴形成转动副,左右两个半联轴器之间通过上下两个相位调整组件连接,并与相位调整组件形成转动副。其中,每个半联轴器均为半叉结构,其半叉上设置有上下圆弧凹槽,两个半联轴器的圆弧位置相对应;上下两个相位调整组件通过其两端的圆弧面分别与两个半联轴器的上下圆弧凹槽接触,上下两个相位调整组件将两个半联轴器的半叉连接。本发明能够方便地进行周向相位调整,同时提高整套装置传递扭矩能力和可靠性。

图片来源于网络,如有侵权,请联系删除
今年以来泰尔股份新获得专利授权50个,较去年同期增加了16.28%。结合公司2025年中报财务数据,今年上半年公司在研发方面投入了3063.16万元,同比增15%。

图片来源于网络,如有侵权,请联系删除
通过天眼查大数据分析,泰尔重工股份有限公司共对外投资了25家企业,参与招投标项目1912次;财产线索方面有商标信息74条,专利信息551条,著作权信息45条;此外企业还拥有行政许可9个。
数据来源:天眼查APP
以上内容为证券之星据公开信息整理,由AI算法生成(网信算备310104345710301240019号),不构成投资建议。