奥特维获得实用新型专利授权:“压具、搬运机构及电池成串设备”
证券之星消息,根据天眼查APP数据显示奥特维(688516)新获得一项实用新型专利授权,专利名为“压具、搬运机构及电池成串设备”,专利申请号为CN202422462327.2,授权日为2025年11月14日。

图片来源于网络,如有侵权,请联系删除
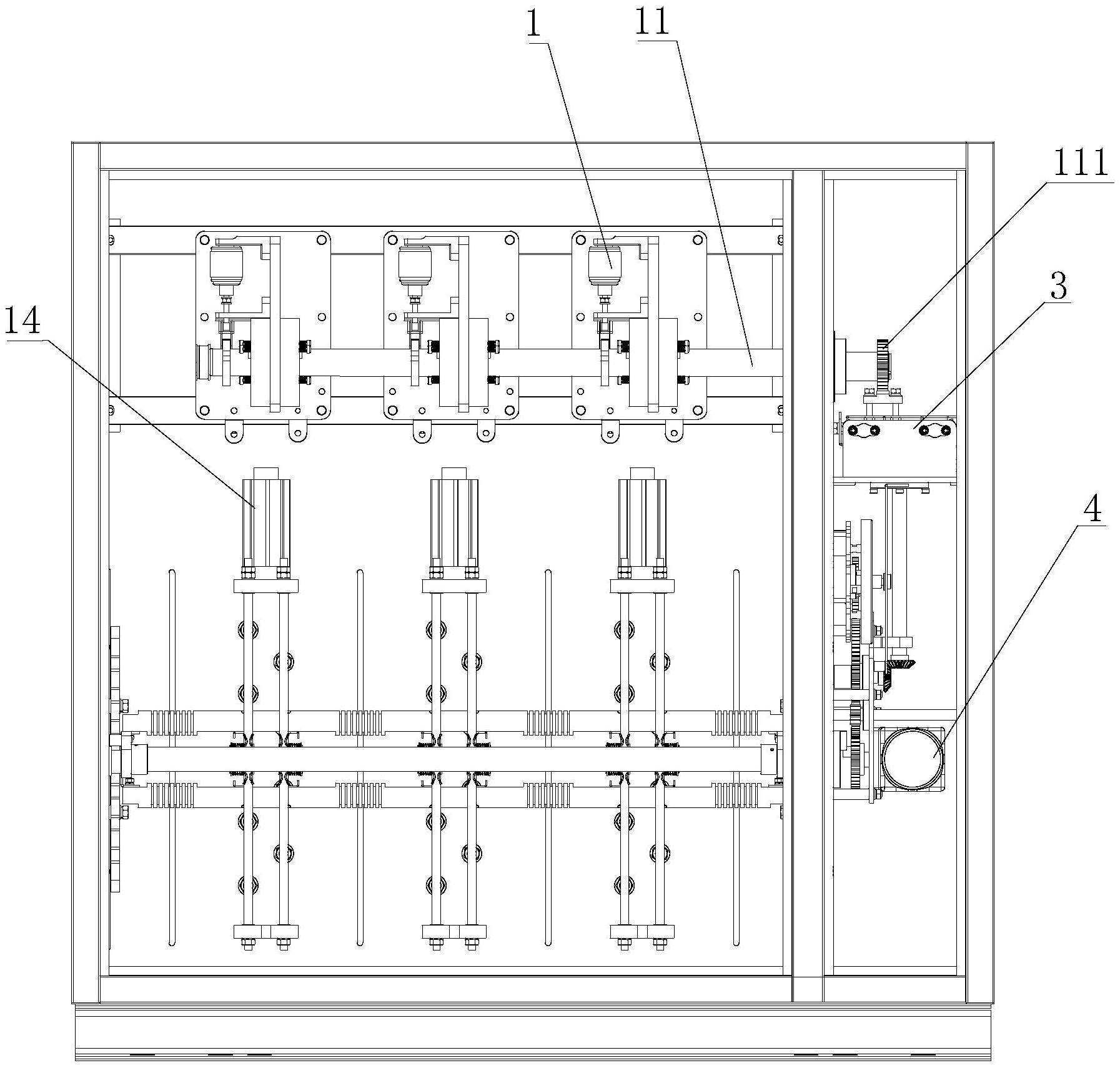
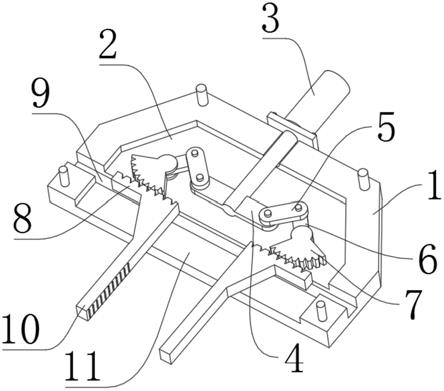
专利摘要:本申请涉及一种压具、搬运机构及电池成串设备。本申请中的压具,应用于串接电池片的电池成串设备中,包括框架、弹性组件及至少两个第一浮动组件;第一浮动组件包括第一浮动压板及第一柔性层,第一柔性层覆盖在第一浮动压板的底面上,各第一浮动压板均沿第一水平方向延伸,各第一浮动压板沿第二水平方向间隔布置;每个第一浮动压板分别通过弹性组件连接在框架的下方。本申请中的压具在使用时,通过第一浮动压板将胶膜与焊带压在电池片上,第一浮动压板与胶膜为面接触,可充分地与胶膜接触,增强了压具对胶膜的压贴效果。

图片来源于网络,如有侵权,请联系删除
今年以来奥特维新获得专利授权284个,较去年同期增加了53.51%。结合公司2025年中报财务数据,今年上半年公司在研发方面投入了2.01亿元,同比增3.88%。

图片来源于网络,如有侵权,请联系删除
通过天眼查大数据分析,无锡奥特维科技股份有限公司共对外投资了21家企业,参与招投标项目188次;财产线索方面有商标信息77条,专利信息1566条,著作权信息60条;此外企业还拥有行政许可144个。
数据来源:天眼查APP
以上内容为证券之星据公开信息整理,由AI算法生成(网信算备310104345710301240019号),不构成投资建议。