长荣股份获得实用新型专利授权:“一种清废结构的调整装置及清废模切机”
证券之星消息,根据天眼查APP数据显示长荣股份(300195)新获得一项实用新型专利授权,专利名为“一种清废结构的调整装置及清废模切机”,专利申请号为CN202422406602.9,授权日为2025年10月31日。

图片来源于网络,如有侵权,请联系删除
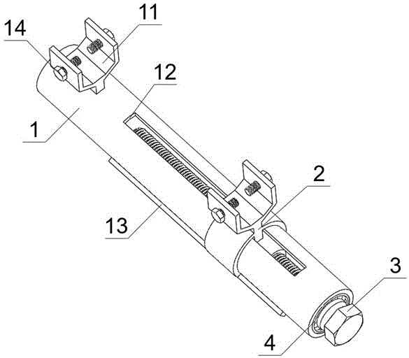
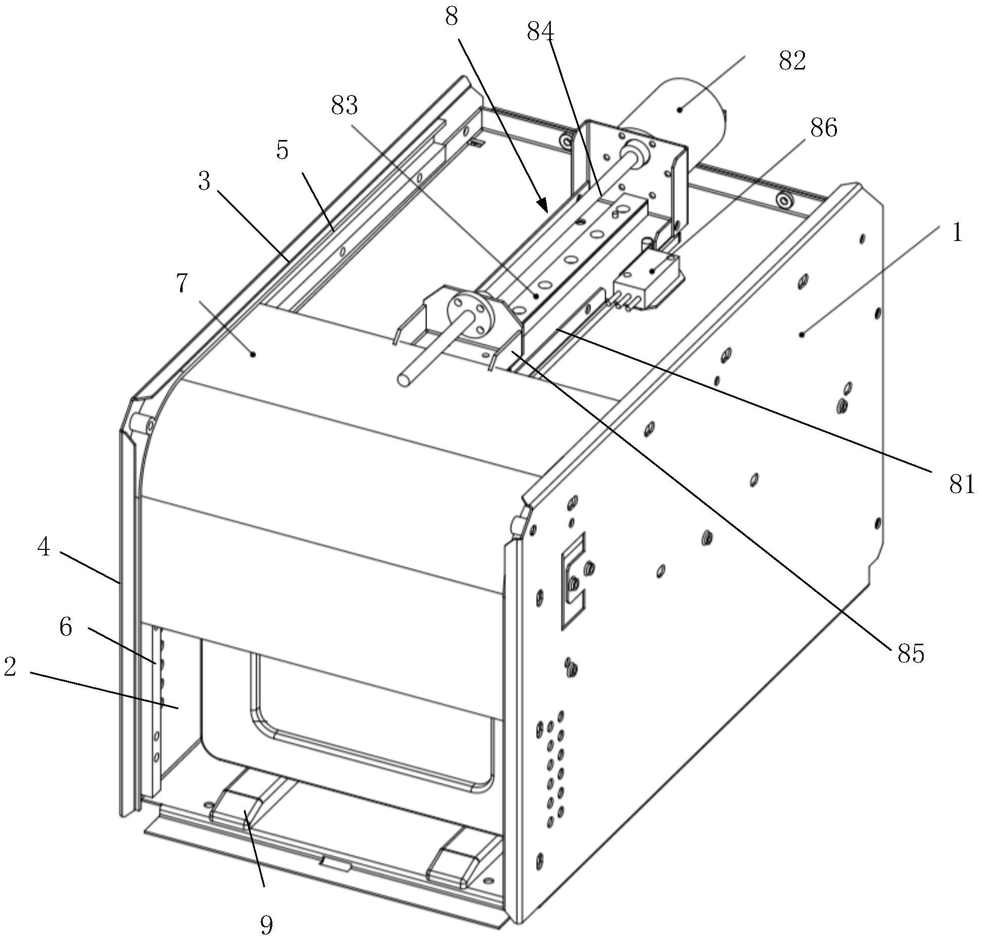
专利摘要:本申请提供了一种清废结构的调整装置及清废模切机,涉及印刷包装技术领域,该调整装置设置在清废结构以及模切结构或者清废结构与清成品结构之间,调整装置包括:活动板;滑动组件,活动板的一端设置在滑动组件上;驱动组件,驱动组件固定连接在滑动组件上;其中,通过驱动组件驱动活动板沿滑动组件延伸的方向移动,从而调整活动板的相对位置。本申请通过驱动组件驱动滑动组件带动活动板移动,从而实现调整装置幅面的自动调节,以填补两部套之间的缝隙,提升自动化程度,节省人力,提高生产效率。

图片来源于网络,如有侵权,请联系删除
今年以来长荣股份新获得专利授权11个,较去年同期减少了72.5%。结合公司2025年中报财务数据,今年上半年公司在研发方面投入了3029.32万元,同比减13.05%。

图片来源于网络,如有侵权,请联系删除
通过天眼查大数据分析,天津长荣科技集团股份有限公司共对外投资了27家企业,参与招投标项目300次;财产线索方面有商标信息110条,专利信息683条,著作权信息29条;此外企业还拥有行政许可81个。
数据来源:天眼查APP
以上内容为证券之星据公开信息整理,由AI算法生成(网信算备310104345710301240019号),不构成投资建议。