格力电器获得实用新型专利授权:“一种电机、压缩机和空调器”
证券之星消息,根据天眼查APP数据显示格力电器(000651)新获得一项实用新型专利授权,专利名为“一种电机、压缩机和空调器”,专利申请号为CN202520138467.6,授权日为2026年2月6日。

图片来源于网络,如有侵权,请联系删除
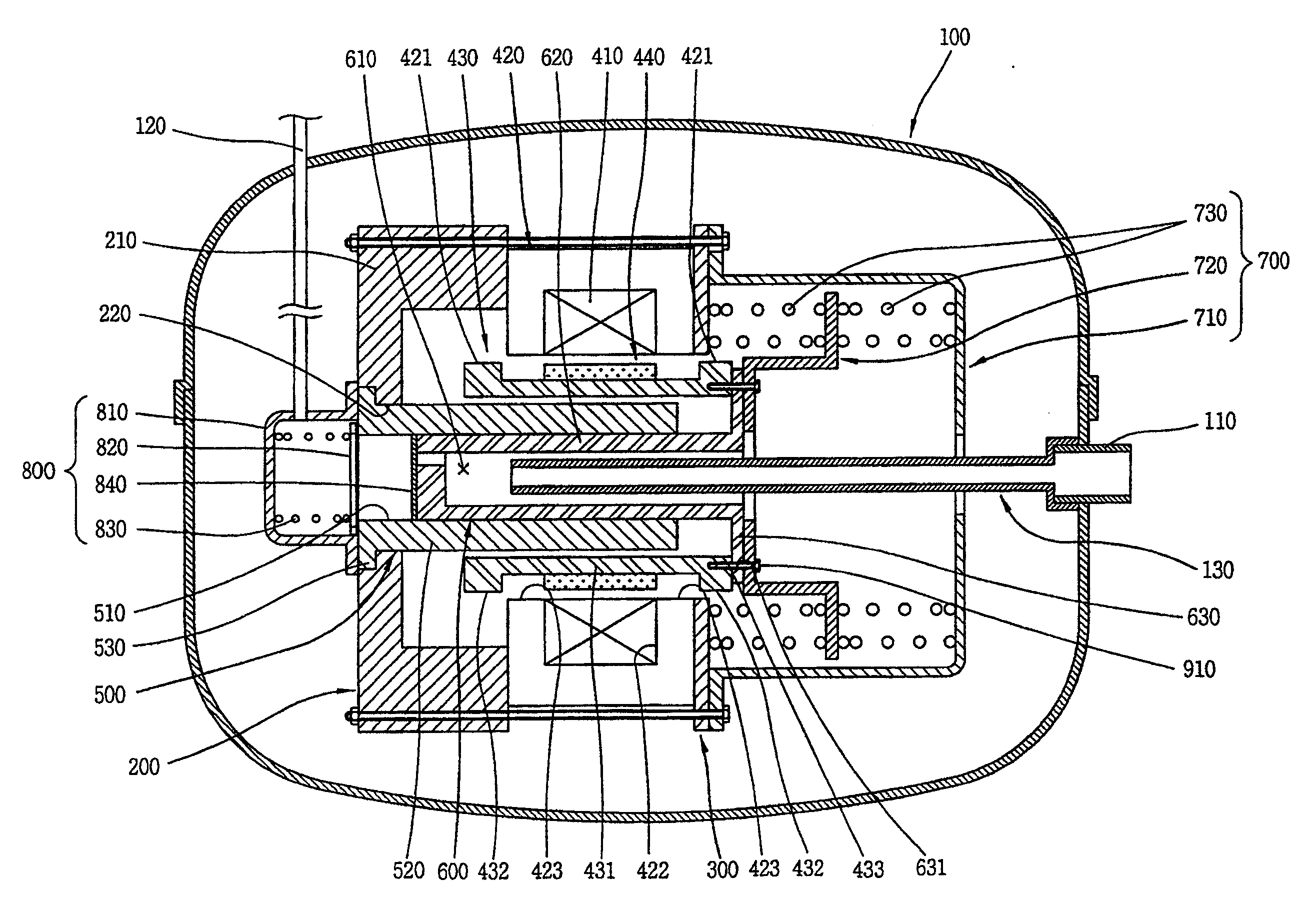
专利摘要:本实用新型提供一种电机、压缩机和空调器,电机包括:定子和端子,定子包括定子铁芯和绕组,从绕组引出有延伸线,延伸线包括第一延伸线和第二延伸线;还包括第一绝缘骨架和第二绝缘骨架,第一绝缘骨架位于定子的轴向下端,第二绝缘骨架位于定子的轴向上端,第一延伸线从第一绝缘骨架引出,且第一延伸线在第一绝缘骨架上按照各相汇总后再次延伸至第二绝缘骨架并固定,第二延伸线从第二绝缘骨架引出并与端子连接形成对二者导通的中性点;定子位于压缩机油池的上方,第二延伸线和中性点均被固定于第二绝缘骨架上。根据本实用新型能解决现有压缩机存在内部液位较高而接触电机中性点,导致泄漏电流超标的问题。

图片来源于网络,如有侵权,请联系删除
今年以来格力电器新获得专利授权1024个,较去年同期增加了136.49%。结合公司2025年中报财务数据,2025上半年公司在研发方面投入了39.18亿元,同比增10.92%。

图片来源于网络,如有侵权,请联系删除
通过天眼查大数据分析,珠海格力电器股份有限公司共对外投资了98家企业,参与招投标项目34431次;财产线索方面有商标信息8212条,专利信息121114条,著作权信息299条;此外企业还拥有行政许可908个。
数据来源:天眼查APP
以上内容为证券之星据公开信息整理,由AI算法生成(网信算备310104345710301240019号),不构成投资建议。