福立旺获得实用新型专利授权:“一种旋转抽芯模具”
证券之星消息,根据天眼查APP数据显示福立旺(688678)新获得一项实用新型专利授权,专利名为“一种旋转抽芯模具”,专利申请号为CN202520411181.0,授权日为2026年2月24日。

图片来源于网络,如有侵权,请联系删除
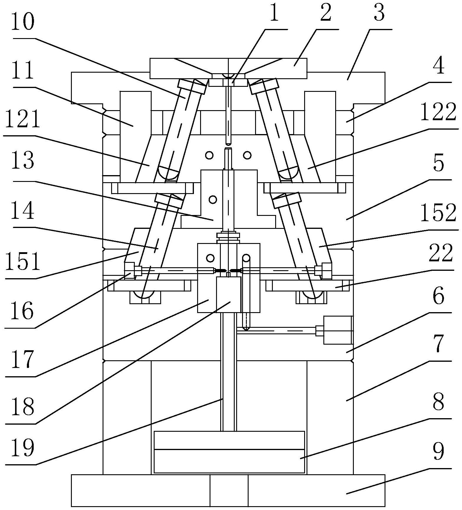
专利摘要:本实用新型涉及模具技术领域,具体为一种旋转抽芯模具,包括模具主体和设置在模具主体两侧的气缸;还包括设置在模具主体和气缸之间的装配组件,装配组件用于对气缸进行移动;装配组件的顶部设置有连接组件,连接组件用于对模芯进行移动。本申请的一种旋转抽芯模具,通过在模具主体和气缸之间设置便于拆装的装配组件,通过将支撑件插接在模具主体的两侧,并通过移动固定件对支撑件进行固定,便能够对气缸进行快速安装,提高了对气缸进行拆装检修的效率;同时通过在装配组件的顶部设置连接组件,通过将连接组件上的移动件便能够连接模芯和气缸,便于快速对模芯进行旋转抽芯加工。

图片来源于网络,如有侵权,请联系删除
今年以来福立旺新获得专利授权78个,较去年同期增加了105.26%。结合公司2025年中报财务数据,2025上半年公司在研发方面投入了6850.91万元,同比增15.04%。

图片来源于网络,如有侵权,请联系删除
通过天眼查大数据分析,福立旺精密机电(中国)股份有限公司共对外投资了4家企业,参与招投标项目89次;财产线索方面有商标信息36条,专利信息937条,著作权信息1条;此外企业还拥有行政许可62个。
数据来源:天眼查APP
以上内容为证券之星据公开信息整理,由AI算法生成(网信算备310104345710301240019号),不构成投资建议。