酒钢宏兴获得实用新型专利授权:“一种火车车厢内壁的滑动定位装置”
证券之星消息,根据天眼查APP数据显示酒钢宏兴(600307)新获得一项实用新型专利授权,专利名为“一种火车车厢内壁的滑动定位装置”,专利申请号为CN202520687553.2,授权日为2026年3月10日。

图片来源于网络,如有侵权,请联系删除
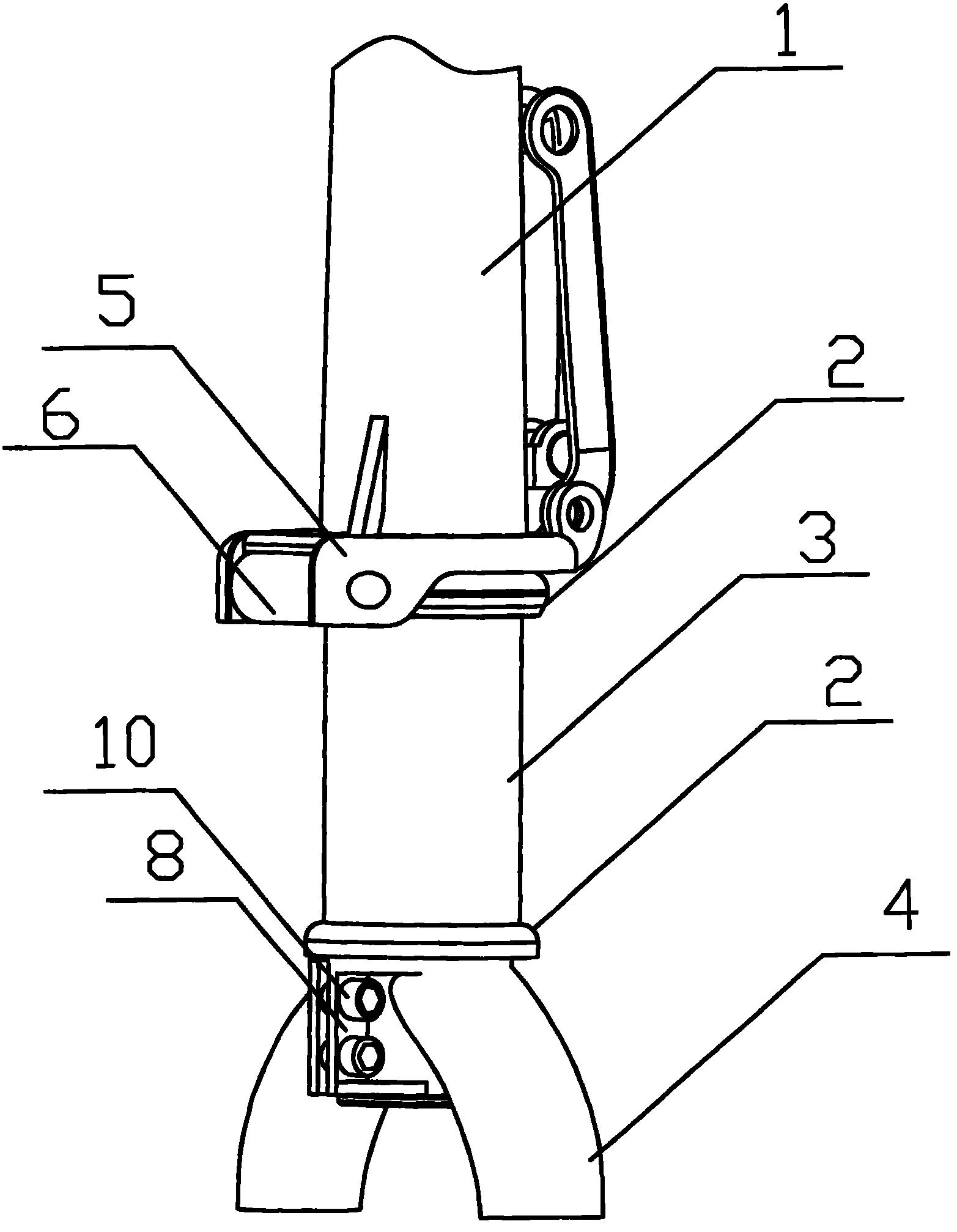
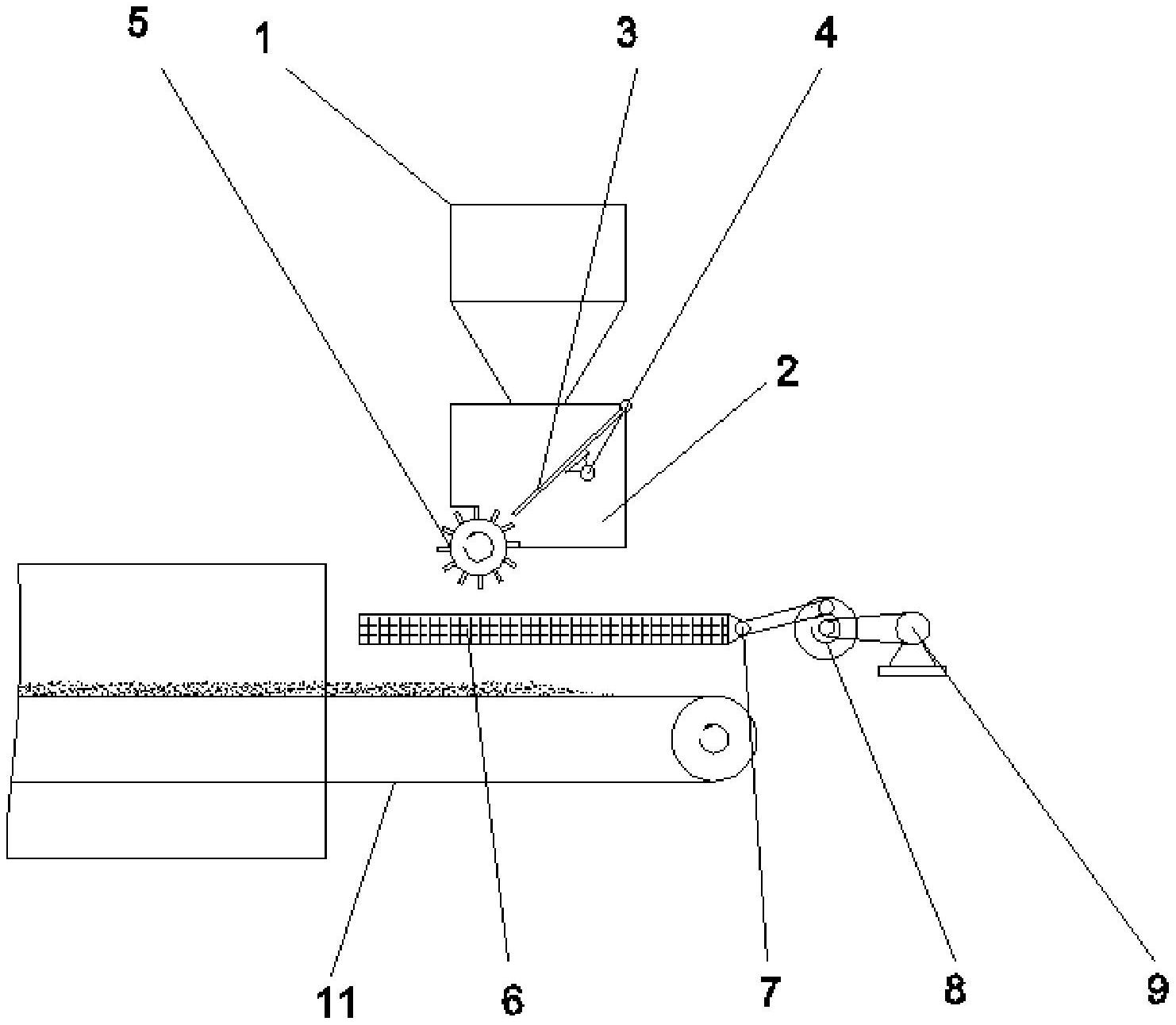
专利摘要:本实用新型一种火车车厢内壁的滑动定位装置,包括弹簧滚珠机构和电动伸展机构,弹簧滚珠机构贴合火车车厢内壁两侧滑动,弹簧滚珠机构的一侧固定连接电动伸展机构,电动伸展机构固定安装于安装板表面。本实用新型有益效果:结构设计合理、构思巧妙、操作连接便捷、体积小,易于加工制作,加工制作成本低、能够和各种装卸工具或吊装设备连接,带动装卸工具或吊装设备在火车车厢内安全作业,可以贴合火车车厢内壁移动,适应车厢内壁的各种情况,可以对装卸工具或吊装设备实现定位,保证装卸工具或吊装设备在火车车厢内的空间移动作业,操作更加安全可靠,不会在火车车厢内来回晃动、碰撞,提高各种吊装设备在火车车厢中装卸货物的成功率和装卸效率。

图片来源于网络,如有侵权,请联系删除
今年以来酒钢宏兴新获得专利授权52个,较去年同期增加了79.31%。结合公司2025年中报财务数据,2025上半年公司在研发方面投入了4.39亿元,同比减13.71%。

图片来源于网络,如有侵权,请联系删除
通过天眼查大数据分析,甘肃酒钢集团宏兴钢铁股份有限公司共对外投资了38家企业,参与招投标项目11567次;财产线索方面有商标信息31条,专利信息2898条,著作权信息1条;此外企业还拥有行政许可123个。
数据来源:天眼查APP
以上内容为证券之星据公开信息整理,由AI算法生成(网信算备310104345710301240019号),不构成投资建议。