巨星科技获得实用新型专利授权:“一种设有多容置空间的杯架”
证券之星消息,根据天眼查APP数据显示巨星科技(002444)新获得一项实用新型专利授权,专利名为“一种设有多容置空间的杯架”,专利申请号为CN202520699619.X,授权日为2026年3月20日。

图片来源于网络,如有侵权,请联系删除
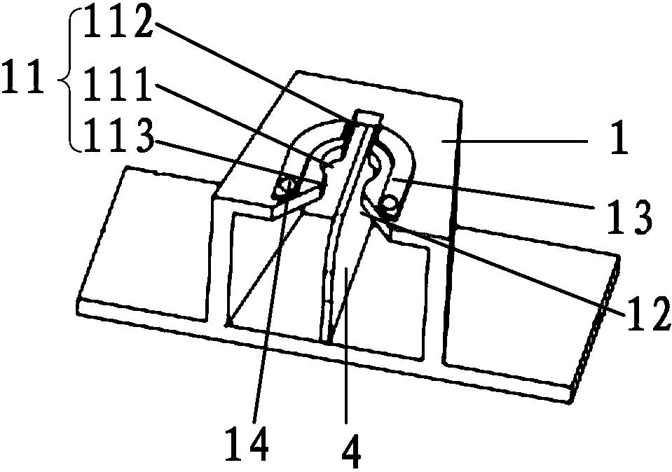
专利摘要:本实用新型公开了一种设有多容置空间的杯架,属于自行车附件技术领域,包括杯夹,杯夹安装在安装部上,安装部包括第一安装部和第二安装部,杯夹形成第一容置空间;第二安装部外侧边延伸设有容置板,第一安装部内侧边设有固定架,容置板和固定架之间形成第二容置空间;第一安装部和第二安装部之间设有第三容置空间,第三容置空间内设有定位器。当杯架固定在自行车上,第三容置空间中可以放置定位器,使得杯架具有多容置空间,且具备定位功能,安装方便,拓展了功能,提高了实用性,满足了使用者多样化的需求。

图片来源于网络,如有侵权,请联系删除
今年以来巨星科技新获得专利授权46个,较去年同期减少了6.12%。结合公司2025年中报财务数据,2025上半年公司在研发方面投入了1.75亿元,同比增10.57%。
通过天眼查大数据分析,杭州巨星科技股份有限公司共对外投资了38家企业,参与招投标项目346次;财产线索方面有商标信息720条,专利信息3160条,著作权信息24条;此外企业还拥有行政许可48个。
数据来源:天眼查APP
以上内容为证券之星据公开信息整理,由AI算法生成(网信算备310104345710301240019号),不构成投资建议。