新华医疗获得实用新型专利授权:“一种自动装箱机的撑箱装置”
证券之星消息,根据天眼查APP数据显示新华医疗(600587)新获得一项实用新型专利授权,专利名为“一种自动装箱机的撑箱装置”,专利申请号为CN202422766208.6,授权日为2025年9月2日。

图片来源于网络,如有侵权,请联系删除
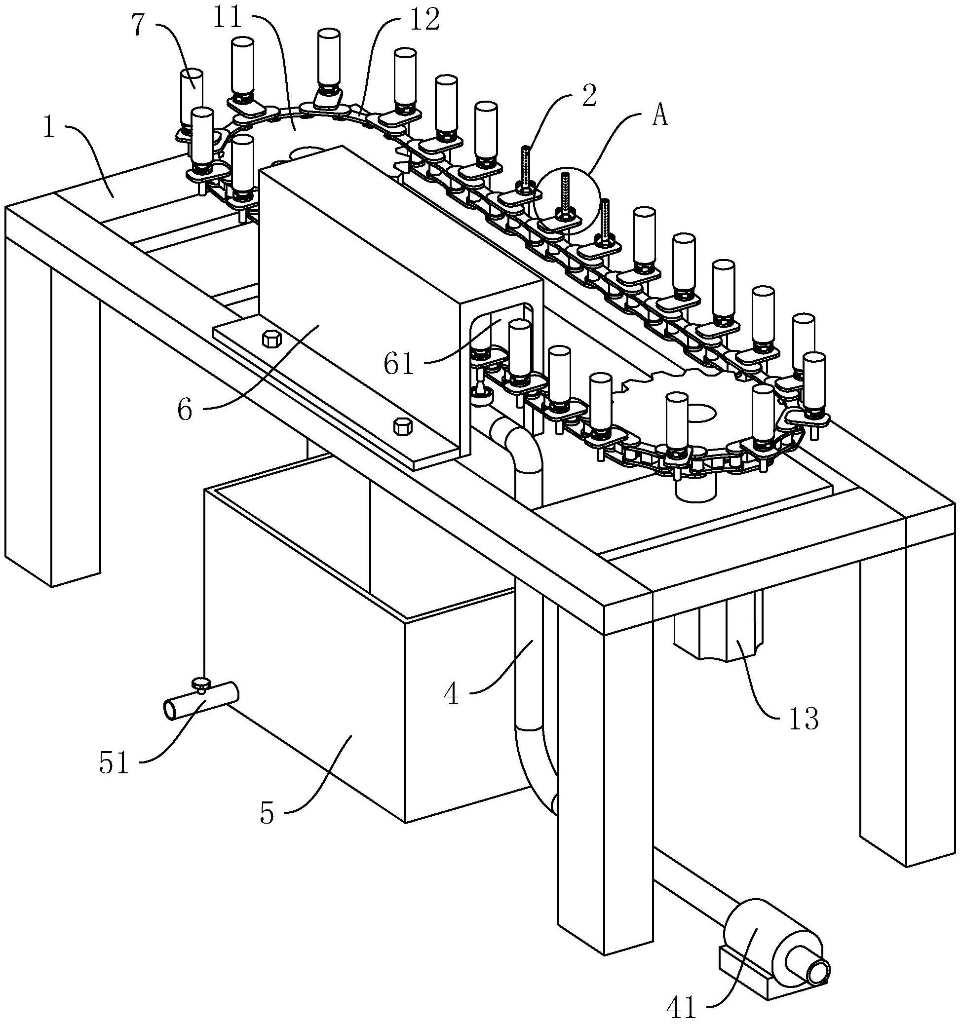
专利摘要:一种自动装箱机的撑箱装置,属于包装技术领域。包括主框架,以及作用于纸箱折页的撑箱板组,其特征在于:在主框架内布置有多个撑箱工位,撑箱板组包括相互垂直的布置在每个撑箱工位内的第一撑箱板组和第二撑箱板组;在主框架上部沿撑箱工位的布置方向设置有第一动力源,第一动力源与所有第一撑箱板组相连,在主框架的上部还设置有与垂直于撑箱工位布置方向的多个第二动力源,每个第二动力源与对应的第二撑箱板组相连。在本自动装箱机的撑箱装置中,利用一组第一动力源以及多组垂直布置的与纸箱数量相同的第二动力源,实现了同时对多个纸箱进行撑箱操作,最大程度上减少了动力源的数量,同时降低了成本以及结构的复杂程度。

图片来源于网络,如有侵权,请联系删除
今年以来新华医疗新获得专利授权180个,较去年同期增加了0.56%。结合公司2025年中报财务数据,今年上半年公司在研发方面投入了2.02亿元,同比增8.88%。
通过天眼查大数据分析,山东新华医疗器械股份有限公司共对外投资了54家企业,参与招投标项目10489次;财产线索方面有商标信息211条,专利信息4369条,著作权信息362条;此外企业还拥有行政许可343个。
数据来源:天眼查APP
以上内容为证券之星据公开信息整理,由AI算法生成(网信算备310104345710301240019号),不构成投资建议。