森麒麟获得实用新型专利授权:“一种航空轮胎胎侧打磨工装”
证券之星消息,根据天眼查APP数据显示森麒麟(002984)新获得一项实用新型专利授权,专利名为“一种航空轮胎胎侧打磨工装”,专利申请号为CN202422783832.7,授权日为2025年10月21日。

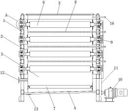
图片来源于网络,如有侵权,请联系删除
专利摘要:本实用新型涉及轮胎打磨设备的技术领域,特别是涉及一种航空轮胎胎侧打磨工装,其通过设置支撑装置,在打磨时夹紧轮胎,提升打磨质量,并且通过设置打磨装置,对轮胎进行自动打磨,减小工人劳动强度;包括机身;还包括移动装置、打磨装置、支撑装置、冷却装置和旋转夹持装置,移动装置和旋转夹持装置均安装在机身上,打磨装置和支撑装置均安装在移动装置上,冷却装置安装在机身和移动装置上;机身提供支撑,移动装置驱动打磨装置和支撑装置前后运动,打磨装置对轮胎进行打磨,支撑装置夹紧轮胎,冷却装置夹持轮胎并旋转轮胎,旋转夹持装置对打磨位置进行降温。

图片来源于网络,如有侵权,请联系删除
今年以来森麒麟新获得专利授权279个,较去年同期增加了155.96%。结合公司2025年中报财务数据,今年上半年公司在研发方面投入了1.02亿元,同比增3.68%。
通过天眼查大数据分析,青岛森麒麟轮胎股份有限公司共对外投资了3家企业,参与招投标项目26次;财产线索方面有商标信息186条,专利信息947条,著作权信息21条;此外企业还拥有行政许可33个。
数据来源:天眼查APP
以上内容为证券之星据公开信息整理,由AI算法生成(网信算备310104345710301240019号),不构成投资建议。