海泰新能获得实用新型专利授权:“一种真空吸盘”
65229
2025年10月25日
证券之星消息,根据天眼查APP数据显示海泰新能(920985)新获得一项实用新型专利授权,专利名为“一种真空吸盘”,专利申请号为CN202422371855.7,授权日为2025年10月24日。

图片来源于网络,如有侵权,请联系删除
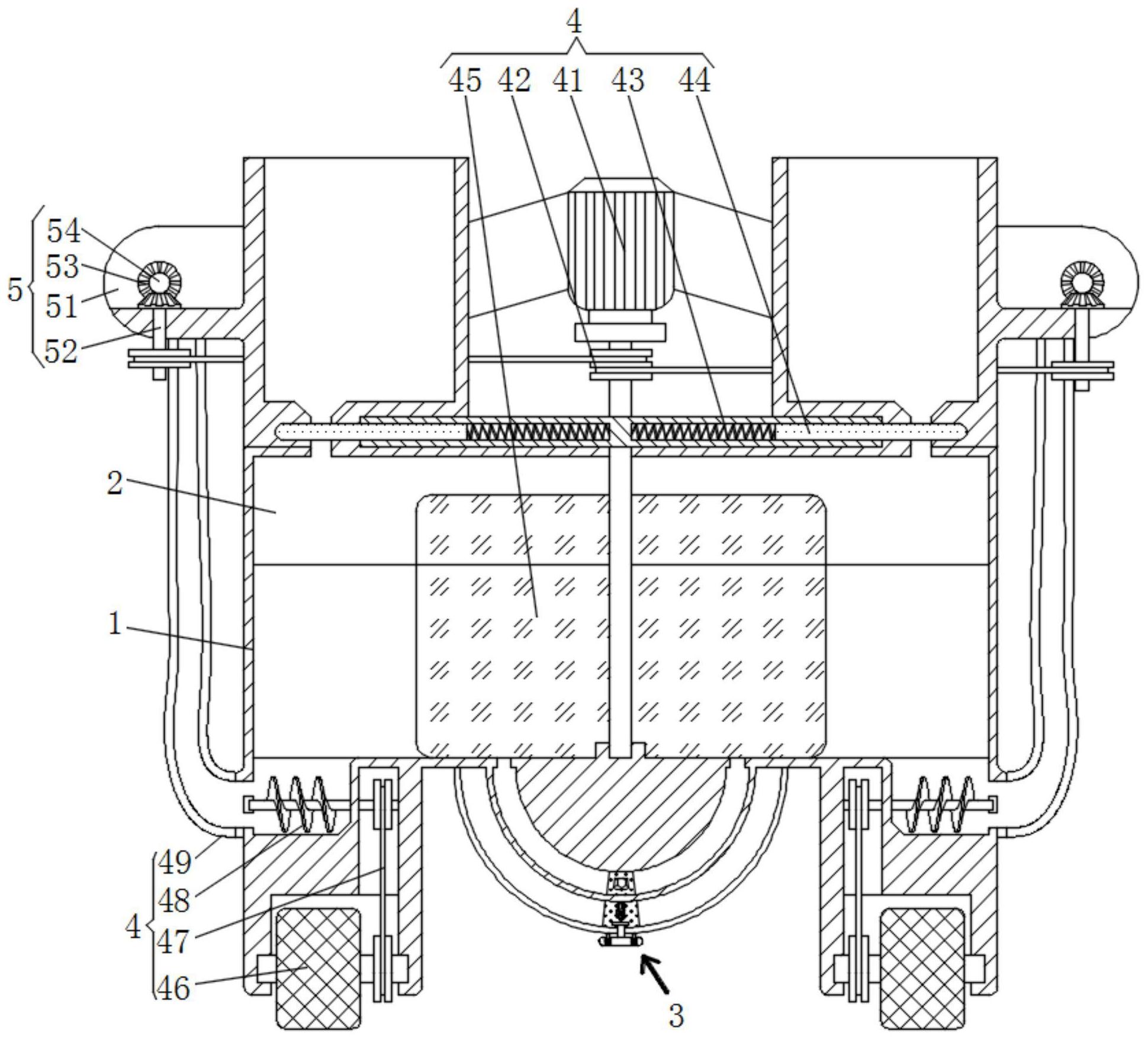
专利摘要:本实用新型涉及真空吸盘技术领域,提出了一种真空吸盘,包括主体,主体具有抽吸通道,第一裙边设置在主体上,第一裙边用于与工件的表面抵接,第一裙边内部形成第一真空空间,柔性囊件位于第一真空空间内,柔性囊件内部具有气腔,气腔与抽吸通道连通,抽出气腔内的气体后,柔性囊件及气腔的体积减小。通过上述技术方案,解决了现有技术中在面对待抓取物件表面存在灰尘杂质或物件表面不够平整时采用真空吸盘进行抓取的过程中,可能会出现无法吸附或吸附稳定性较差的问题。
今年以来海泰新能新获得专利授权2个。结合公司2025年中报财务数据,今年上半年公司在研发方面投入了1480.19万元,同比增11.4%。
通过天眼查大数据分析,唐山海泰新能科技股份有限公司共对外投资了41家企业,参与招投标项目837次;财产线索方面有商标信息45条,专利信息261条,著作权信息11条;此外企业还拥有行政许可12个。
数据来源:天眼查APP
以上内容为证券之星据公开信息整理,由AI算法生成(网信算备310104345710301240019号),不构成投资建议。