华电科工获得实用新型专利授权:“一种电气房”
证券之星消息,根据天眼查APP数据显示华电科工(601226)新获得一项实用新型专利授权,专利名为“一种电气房”,专利申请号为CN202423085356.8,授权日为2025年11月14日。

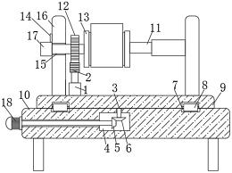
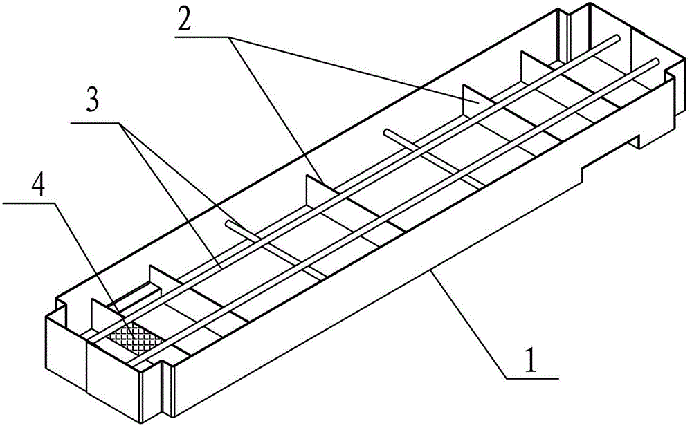
图片来源于网络,如有侵权,请联系删除
专利摘要:本实用新型公开了一种电气房,至少包括:电气房体和设置于电气房体内的变频器柜和空调,电气房体开设有排风口,所述电气房还包括通风散热装置;通风散热装置包括:排风口开闭机构、导风组件和控制器;排风口开闭机构设置于电气房体的排风口;导风组件设置于电气房体内,且用于将变频器柜产生的热风导向电气房体的排风口;控制器用于根据变频器柜的启停控制排风口开闭机构的开闭。当变频器柜启动时,控制器能根据反馈控制排风口开闭机构打开,变频器柜产生的热风可通过导风组件导向电气房体的排风口,并通过电气房体的排风口排出电气房外,避免与空调的冷风形成对流或者接触,可降低电气房内空调的数量和功率,降低能耗、减低成本和使更环保。

图片来源于网络,如有侵权,请联系删除
今年以来华电科工新获得专利授权136个,较去年同期增加了19.3%。结合公司2025年中报财务数据,今年上半年公司在研发方面投入了1.37亿元,同比增25.43%。

图片来源于网络,如有侵权,请联系删除
通过天眼查大数据分析,华电科工股份有限公司共对外投资了11家企业,参与招投标项目19147次;财产线索方面有商标信息11条,专利信息1715条,著作权信息42条;此外企业还拥有行政许可22个。
数据来源:天眼查APP
以上内容为证券之星据公开信息整理,由AI算法生成(网信算备310104345710301240019号),不构成投资建议。