中国石油获得实用新型专利授权:“井口填砂封堵装置”
60735
2026年01月24日
证券之星消息,根据天眼查APP数据显示中国石油(601857)新获得一项实用新型专利授权,专利名为“井口填砂封堵装置”,专利申请号为CN202520318008.6,授权日为2026年1月23日。

图片来源于网络,如有侵权,请联系删除
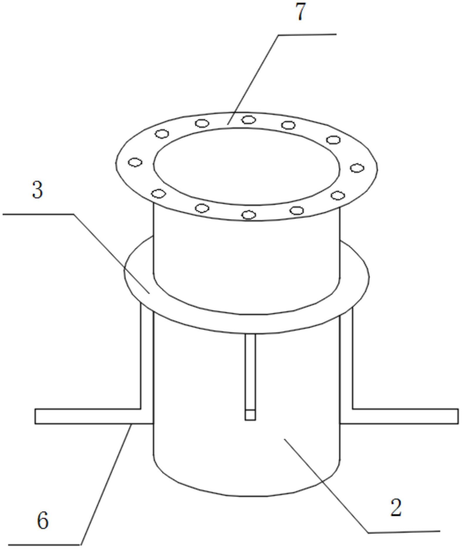
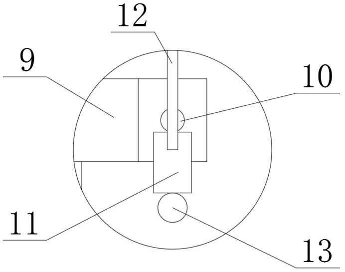
专利摘要:本实用新型公开的井口填砂封堵装置,包括打散组件,打散组件的底部固接有混合组件,混合组件的输出端固接有排料管,打散组件一侧固接有喷水组件,打散组件另一侧固接有喷气组件。本实用新型的井口填砂封堵装置,解决了砂子下料过程中的打散及流畅度不高的问题,同时解决了砂子与水的配比及填砂效率不高的问题;此外,在填砂完成后,通过喷水组件对打散叶片进行清洗,避免砂子粘连在打散箱的内壁和打散叶片的外壁上。

图片来源于网络,如有侵权,请联系删除
今年以来中国石油新获得专利授权152个,较去年同期增加了210.2%。结合公司2025年中报财务数据,2025上半年公司在研发方面投入了98.99亿元,同比增2.51%。
通过天眼查大数据分析,中国石油天然气股份有限公司共对外投资了1297家企业,参与招投标项目443次;财产线索方面有商标信息105条,专利信息48144条;此外企业还拥有行政许可168个。
数据来源:天眼查APP
以上内容为证券之星据公开信息整理,由AI算法生成(网信算备310104345710301240019号),不构成投资建议。