德马科技获得实用新型专利授权:“一种用于滑触线的导轨装置”
66035
2026年02月13日
证券之星消息,根据天眼查APP数据显示德马科技(688360)新获得一项实用新型专利授权,专利名为“一种用于滑触线的导轨装置”,专利申请号为CN202520178608.7,授权日为2026年2月13日。

图片来源于网络,如有侵权,请联系删除
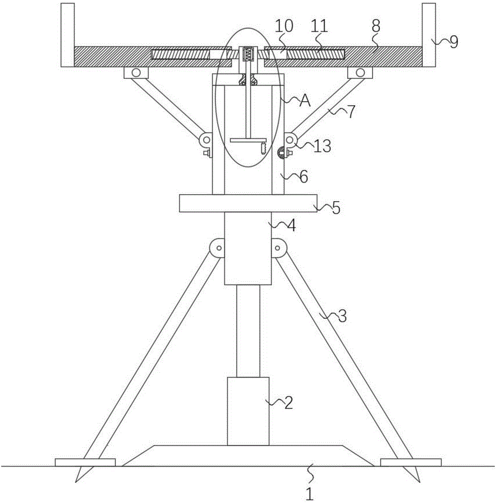
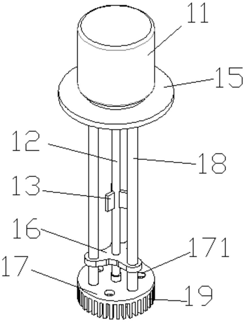
专利摘要:本实用新型公开了一种用于滑触线的导轨装置,包括第一导轨、第二导轨、定位座、第一定位组件以及第二定位组件,所述第一定位组件用于将所述第一导轨的至少一端定位在所述定位座上,所述第二定位组件用于将所述第二导轨的至少一端定位在所述定位座上并使得所述第一导轨的一端和所述第二导轨的一端对齐抵接。本实用新型的有益效果在于,能够快速实现对第一导轨和第二导轨的准确对接,降低了多段滑触线导轨之间的拼装难度。

图片来源于网络,如有侵权,请联系删除
今年以来德马科技新获得专利授权16个,较去年同期增加了166.67%。结合公司2025年中报财务数据,2025上半年公司在研发方面投入了5102.39万元,同比增14.65%。

图片来源于网络,如有侵权,请联系删除
通过天眼查大数据分析,德马科技集团股份有限公司共对外投资了15家企业,参与招投标项目49次;财产线索方面有商标信息25条,专利信息735条,著作权信息20条;此外企业还拥有行政许可25个。
数据来源:天眼查APP
以上内容为证券之星据公开信息整理,由AI算法生成(网信算备310104345710301240019号),不构成投资建议。