建霖家居获得实用新型专利授权:“一种能自动锁定的组合花洒”
75795
2026年02月17日
证券之星消息,根据天眼查APP数据显示建霖家居(603408)新获得一项实用新型专利授权,专利名为“一种能自动锁定的组合花洒”,专利申请号为CN202520352941.5,授权日为2026年2月17日。

图片来源于网络,如有侵权,请联系删除
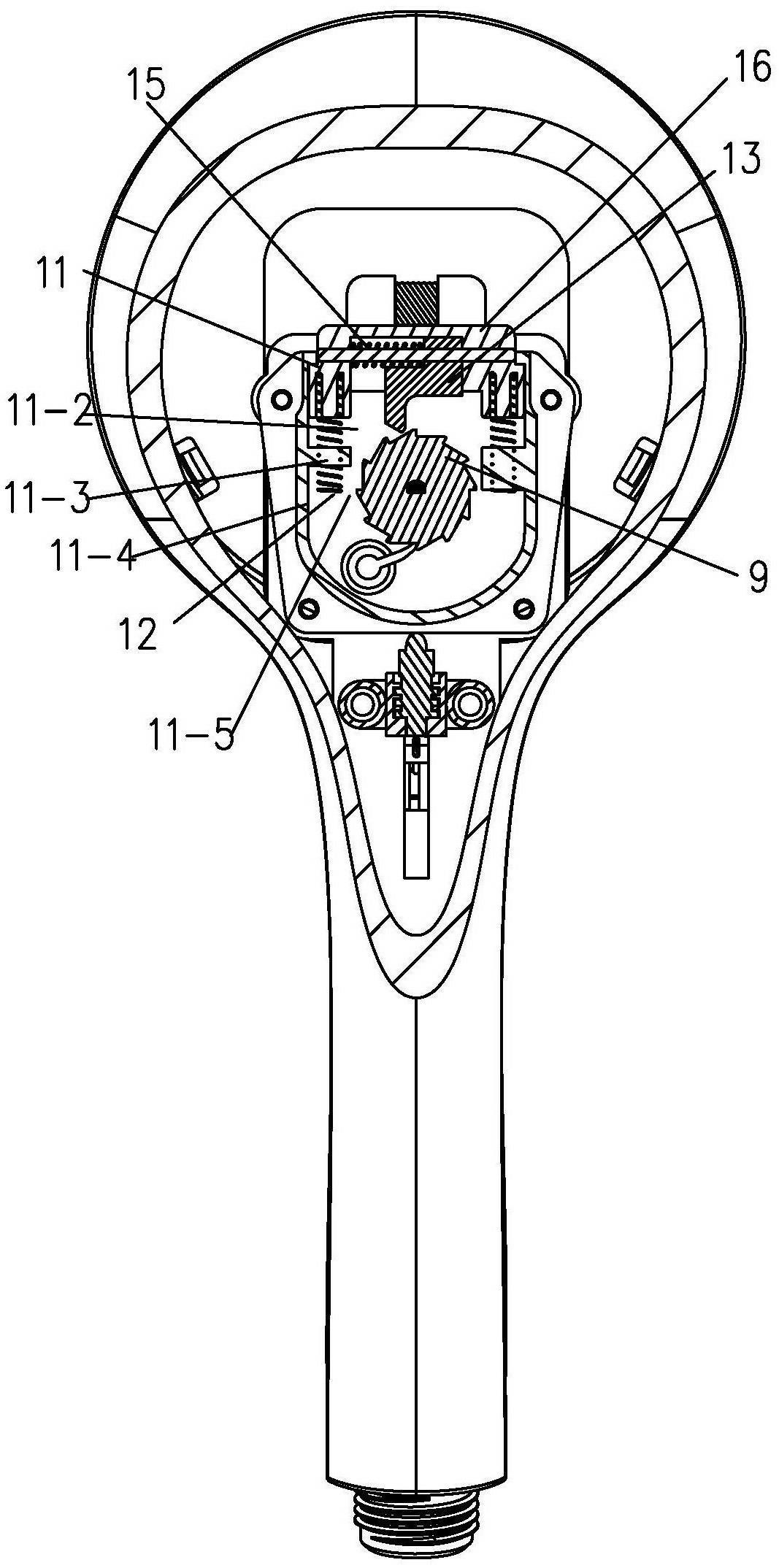
专利摘要:本实用新型公开了一种能自动锁定的组合花洒,包括固定体,能与活动体相连接的支臂,还包括能与支臂相连接的芯轴,以使两者能相对固定体转动;所述固定体上设置有能供芯轴穿设的连接孔,所述芯轴上设置有插孔,所述固定体内设置有能移动的定位柱,所述定位柱能插入插孔内,以使芯轴与固定体轴向限制,以使芯轴不能相对固定体进行转动,本实用新型的组合花洒分顶喷和花洒,在两者之间增加一个支臂,该支臂可摆动角度,并且支臂在包含但不限于初始位置和终端位置会被自动锁住,使花洒在摆动角度时,不会改变支臂的当前位置。
今年以来建霖家居新获得专利授权24个,较去年同期增加了60%。结合公司2025年中报财务数据,2025上半年公司在研发方面投入了1.35亿元,同比增11.52%。
通过天眼查大数据分析,厦门建霖健康家居股份有限公司共对外投资了8家企业,参与招投标项目64次;财产线索方面有商标信息387条,专利信息2928条;此外企业还拥有行政许可79个。
数据来源:天眼查APP
以上内容为证券之星据公开信息整理,由AI算法生成(网信算备310104345710301240019号),不构成投资建议。