铜陵有色获得实用新型专利授权:“一种浮选机可调节式溢流堰”
证券之星消息,根据天眼查APP数据显示铜陵有色(000630)新获得一项实用新型专利授权,专利名为“一种浮选机可调节式溢流堰”,专利申请号为CN202422752833.5,授权日为2025年10月10日。

图片来源于网络,如有侵权,请联系删除
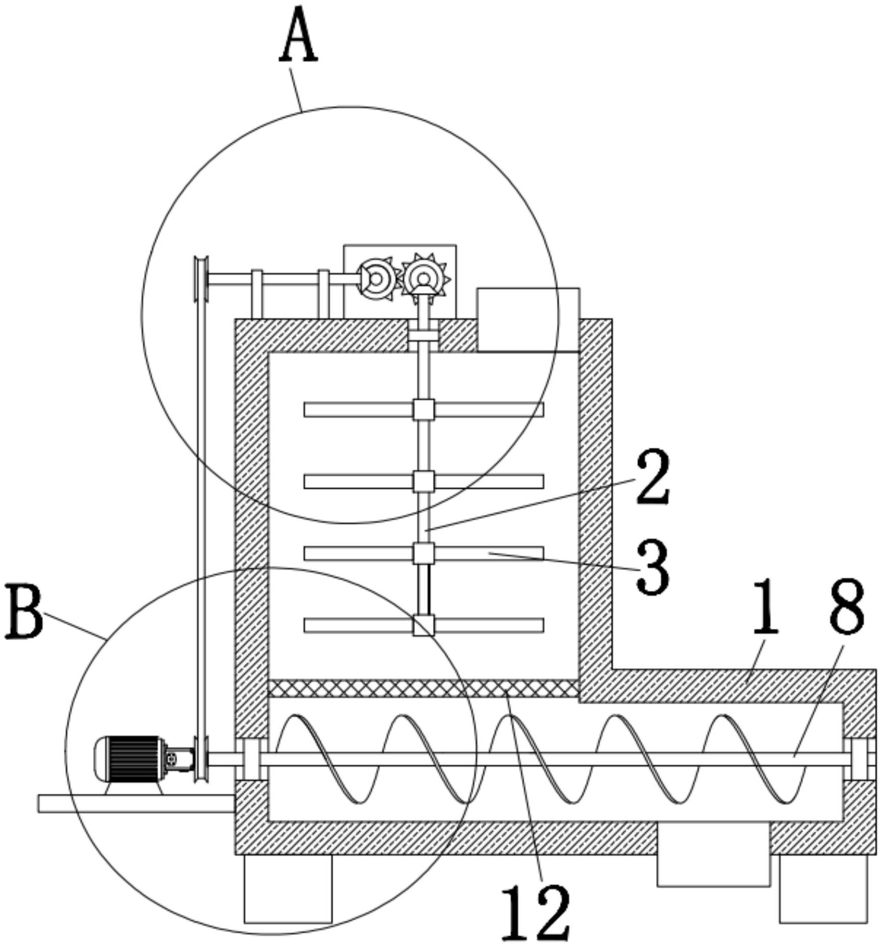
专利摘要:本实用新型公开了一种浮选机可调节式溢流堰,涉及浮选机技术领域,包括浮选机壳,所述浮选机壳一端的上方设有溢流堰槽,所述溢流堰槽一端一侧的中部固定连接有连接固定板,所述连接固定板一端外表面的前侧开设有调节滑槽,所述调节滑槽的上下两端皆开设有一个限位滑槽。本实用新型通过设置的溢流板、调节滑槽、连接定位盘、定位盘和定位螺母,调节时,可根据需要将溢流板的一端滑动到调节滑槽内任意一个位置,然后根据需要控制的溢流速度将溢流板旋转指定的角度后,旋转定位螺母通过将定位盘固定在连接定位盘上将溢流板调节后的角度固定住,起到了便于在安装时调节溢流板的角度,以此改变水流溢流的速度。

图片来源于网络,如有侵权,请联系删除
今年以来铜陵有色新获得专利授权89个,较去年同期增加了187.1%。结合公司2025年中报财务数据,今年上半年公司在研发方面投入了2.87亿元,同比减7.51%。
通过天眼查大数据分析,铜陵有色金属集团股份有限公司共对外投资了48家企业,参与招投标项目59113次;财产线索方面有商标信息3条,专利信息982条,著作权信息9条;此外企业还拥有行政许可89个。
数据来源:天眼查APP
以上内容为证券之星据公开信息整理,由AI算法生成(网信算备310104345710301240019号),不构成投资建议。