倍益康获得外观设计专利授权:“共享制氧机”
69018
2025年11月19日
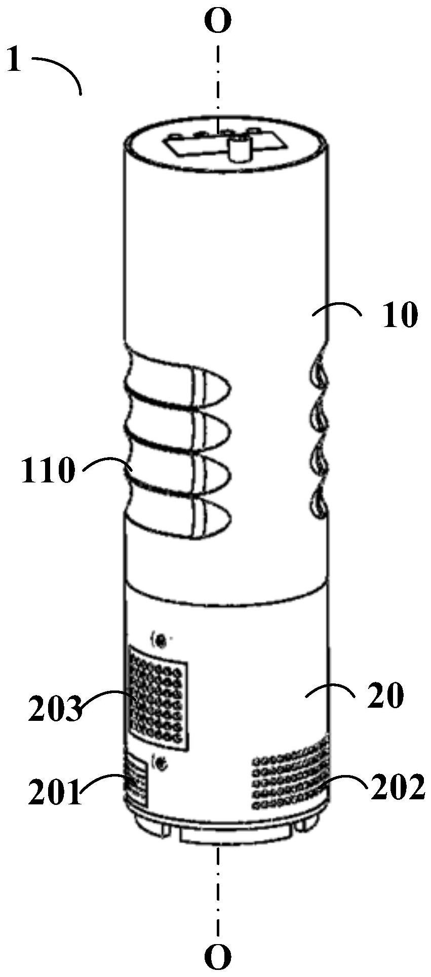
证券之星消息,根据天眼查APP数据显示倍益康(920199)新获得一项外观设计专利授权,专利名为“共享制氧机”,专利申请号为CN202530073748.3,授权日为2025年11月4日。

图片来源于网络,如有侵权,请联系删除
专利摘要:1.本外观设计产品的名称:共享制氧机。2.本外观设计产品的用途:用于氧气制备。3.本外观设计产品的设计要点:在于形状。4.最能表明设计要点的图片或照片:设计1立体图。5.指定设计1为基本设计。

图片来源于网络,如有侵权,请联系删除
今年以来倍益康新获得专利授权7个。结合公司2025年中报财务数据,今年上半年公司在研发方面投入了1027.11万元,同比增30.96%。

图片来源于网络,如有侵权,请联系删除
通过天眼查大数据分析,四川千里倍益康医疗科技股份有限公司共对外投资了14家企业,参与招投标项目446次;财产线索方面有商标信息86条,专利信息660条,著作权信息74条;此外企业还拥有行政许可56个。
数据来源:天眼查APP
以上内容为证券之星据公开信息整理,由AI算法生成(网信算备310104345710301240019号),不构成投资建议。