长安汽车获得发明专利授权:“一种道路边界线检测方法、装置、车辆及电子设备”
69890
2026年02月18日
证券之星消息,根据天眼查APP数据显示长安汽车(000625)新获得一项发明专利授权,专利名为“一种道路边界线检测方法、装置、车辆及电子设备”,专利申请号为CN202511575107.3,授权日为2026年2月17日。

图片来源于网络,如有侵权,请联系删除
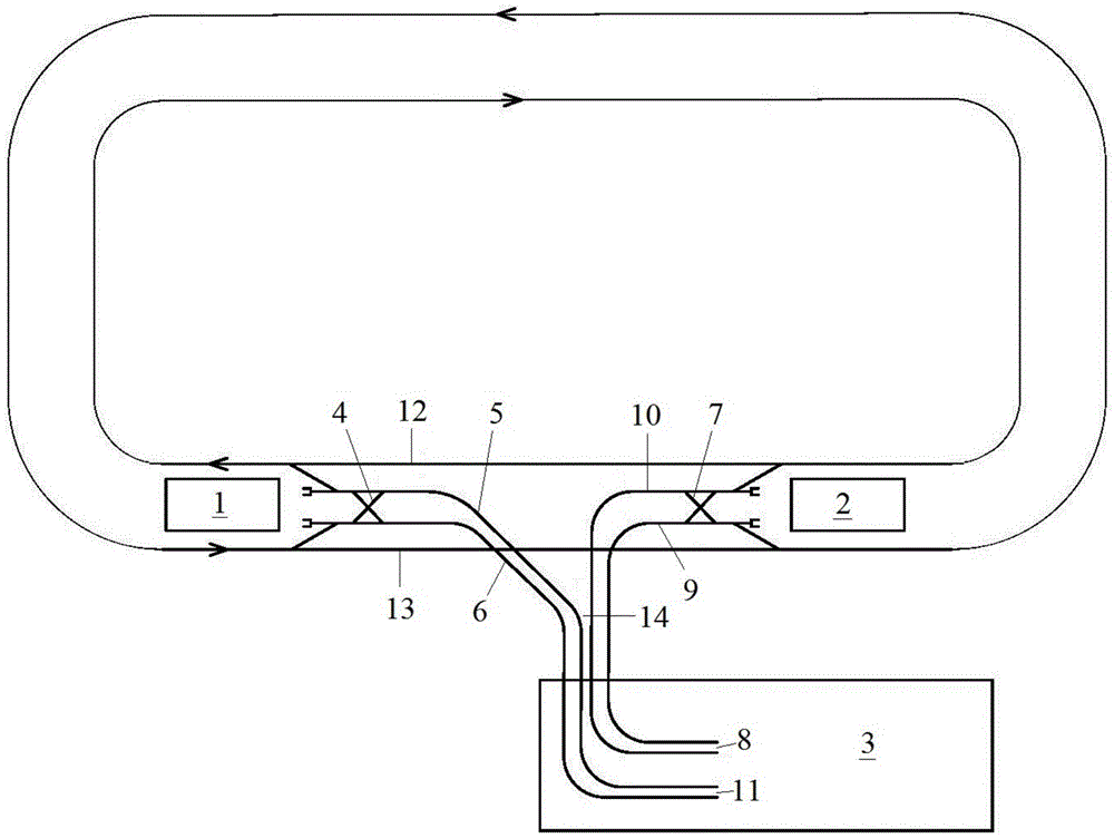
专利摘要:本申请涉及一种道路边界线检测方法、装置、车辆及电子设备,涉及车辆技术领域,尤其涉及智能驾驶技术领域,方法包括:确定基准边界线;基准边界线包括雷达检测边界线或前视检测边界线;基于基准边界线从雷达探测点中筛选候选拟合点;候选拟合点与基准边界线的横向距离不超过距离阈值;基于候选拟合点进行曲线拟合,得到边界拟合线;对基准边界线和边界拟合线进行融合,得到道路边界线。通过多传感器融合技术和环境感知算法的优化,显著提升智能驾驶系统在弯道环境下的鲁棒性和可靠性,确保车辆安全稳定运行。

图片来源于网络,如有侵权,请联系删除
今年以来长安汽车新获得专利授权239个,较去年同期减少了7%。结合公司2025年中报财务数据,2025上半年公司在研发方面投入了32.84亿元,同比增12.76%。
数据来源:天眼查APP
以上内容为证券之星据公开信息整理,由AI算法生成(网信算备310104345710301240019号),不构成投资建议。